Micro Crystal RV-3032-C7 Real-Time Clock Module with I2C Bus

Micro Crystal RV-3032-C7 Real-Time Clock Module with I2C Bus incorporates an integrated CMOS circuit together with a crystal (XTAL). The Micro Crystal RV-3032-C7 Real-Time Clock Module operates under a vacuum in a hermetically sealed ceramic package with a metal lid. The series features 160nA power consumption at 3V, a 1.3V to 5.5V operating voltage range, and operation from +85°C to +105° with ±20ppm time accuracy. Applications include the Internet of Things, metering, industrial, automotive, healthcare, and wearables/portables.

Features

  • 160nA power consumption at 3V
  • 1.3V to 5.5V operating voltage range
  • Operation
    • -40°C to +85°C, ±2.5ppm time accuracy
    • +85°C to +105°C, ±20ppm time accuracy
  • Readable 12-bit temperature sensor with interrupt function
  • User-programmable password for write protection
  • Automatic backup switchover
  • Trickle charger with charge pump
  • Timer, alarm, and external event functions
  • 1Hz to 52MHz clock output frequencies
  • 32 bytes user EEPROM, 16 bytes user RAM
  • 400kHz I2C-bus interface
  • 100% lead-free, RoHS compliant
  • AEC-Q200 automotive qualification available

Applications

  • Internet of Things
  • Metering
  • Industrial
  • Automotive
  • Healthcare
  • Wearables and portables

Videos

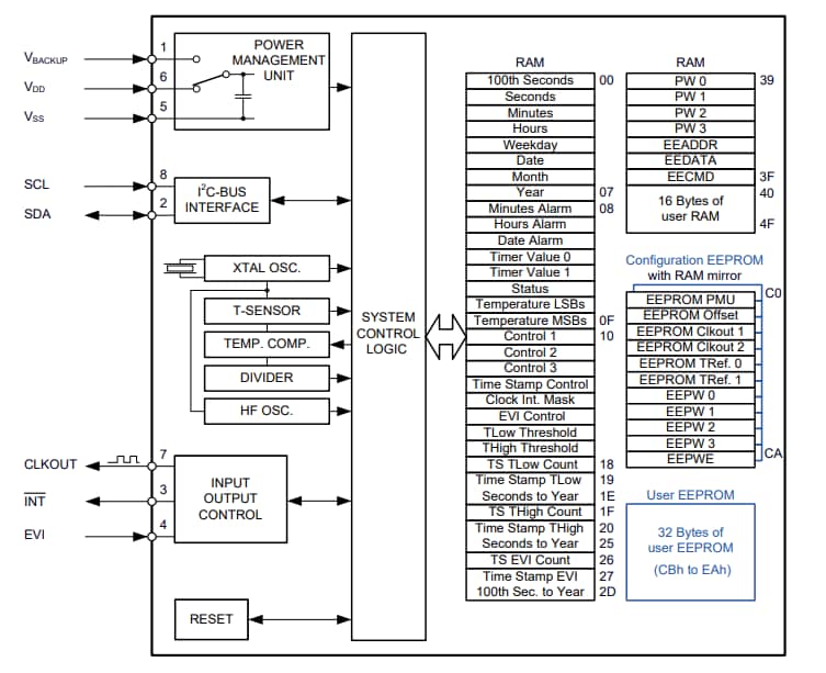
Block Diagram

Block Diagram - Micro Crystal RV-3032-C7 Real-Time Clock Module with I2C Bus
Veröffentlichungsdatum: 2022-03-16 | Aktualisiert: 2024-02-27