Littelfuse SPXV Solarsicherungen
Littelfuse SPXV Solarsicherungen sind speziell für den Schutz von Photovoltaik-Systemen (PV) ausgelegt. Diese Sicherungen bieten einen höheren Stromstärkenschutz auf weniger Platz für eine höhere Design-Flexibilität. Die SPXV-Sicherungen sind flinke Ganzbereichssicherungen, die zur Verhinderung von gängigen Fehlern mit geringer Überlast beitragen. Diese Sicherungen verfügen über eine Unterbrechungsleistung von bis zu 50.000 A. Die SPXV Sicherungen sind in mehreren Ampere-Werten verfügbar, um verschiedene Anforderungen in einer großen Auswahl von Applikationen zu erfüllen. Zu den typischen Applikationen gehören Wechselrichter und Generatoranschlusskästen.Merkmale
- Schutz von PV-Systemen
- Erhältlich in mehreren Ampere-Werten
- Bieten einen höheren Stromstärkenschutz auf weniger Platz
- Verbesserte Design-Flexibilität
- Ganzbereichs- und flinke Sicherungen
- Eliminiert gängige Fehler mit geringer Überlast
- Unterbrechungsleistung von bis zu 50.000 A.
- DC-Nennspannung: 1.500 VDC
- Zeitkonstante: ≤ 1 ms
- Material:
- Körper: Melamin
- Kappen: Kupferlegierung (mit Nickel überzogen)
- Zulassungen:
- UL 248-19-zugelassen (Datei: E339112)
- Gültige Standards:
- UL 248-1, 248-19 IEC 60269-6
Applikationen
- Wechselrichter
- Generatoranschlusskästen
Temperatur-Deratingkurve
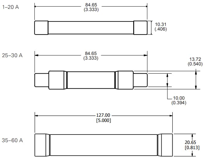
Abmessungen in mm (Zoll)
Veröffentlichungsdatum: 2021-01-25
| Aktualisiert: 2022-03-11
