Infineon Technologies TLE8080EM Motormanagement-ICs für kleine Motoren
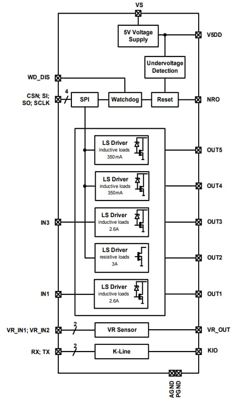
Infineon Technologies TLE8080EM Motormanagement-ICs für kleine Motoren werden mit der Smart-Power-Technologie (SPT) von Infineon hergestellt. Die ICs sind durch eingebettete Schutzfunktionen geschützt. Zur Ansteuerung verschiedener Lasten in einem Motormanagementsystem ist ein Netzteil zusammen mit einer K-Leitung, einer SPI- und variablen Reluktanzsensor-Schnittstelle sowie Leistungsstufen integriert. Der TLE8080EM bietet eine kompakte und kostenoptimierte Lösung für Motormanagementsysteme. Die ICs eignen sich hervorragend für Einzylinder-Motorrad-Motormanagementsysteme.Merkmale
- Versorgung von 5 V (+/-2 %), 250 mA
- K-Leitungs-Transceiver (ISO 9141)
- Serial Peripheral Interface (SPI)
- 4 Low-Side-Treiber für induktive Lasten mit Übertemperatur- und Überstromschutz sowie Off-Diagnosefunktionen für offene Last/Kurzschluss zu GND:
- 2 Low-Side-Schalter mit einem maximalen Betrieb von 2,6 A
- 2 Low-Side-Schalter mit einem maximalen Betrieb von 350 mA
- 1 Low-Side-Treiber für ohmsche Lasten mit einem maximalen Betriebsstrom von
- 3 A einschließlich Übertemperatur- und Überstromschutz
- Konfigurierbare variable Reluktanzsensor-Schnittstelle
- Reset-Ausgang und 5V-Unterspannungserkennung
- Watchdog
- Grünes Produkt (RoHS-konform)
- Nach AEC qualifiziert
Blockdiagramm
Veröffentlichungsdatum: 2018-06-18
| Aktualisiert: 2022-08-08
