Futaba AH Series Slim Design Display Modules

Futaba AH Series Slim Design Display Modules are a complete display solution in a compact package. The devices offer display options between 20×2 or full dot matrix and VFD or FSTN-LCD with various case color options. The high-contrast displays use a non-glare filter and are available in various fonts. The Futaba AH Series Slim Design Display Modules are BLUETOOTH®-compatible and ideal for POS, audio tuners, and sub-display applications.

Features

  • Display Options:
    • 20×2 or Full Dot Matrix
    • VFD or FSTN-LCD
  • Slim 13mm Display with Attached Self Supporting Base
  • Display Head Tilts up to 40 Degrees
  • BLUETOOTH Connectable
  • ANK (AH148, AH156):
    • USA, France, Germany, Japan, Korea, etc (1byte character)
  • Kanji (AH147, AH145):
    • ANK+Japan (Shift JIS), China (Simplified/Traditional), Korea (2byte character)

Applications

  • POS
  • Audio Tuner Devices
  • Sub Display Devices

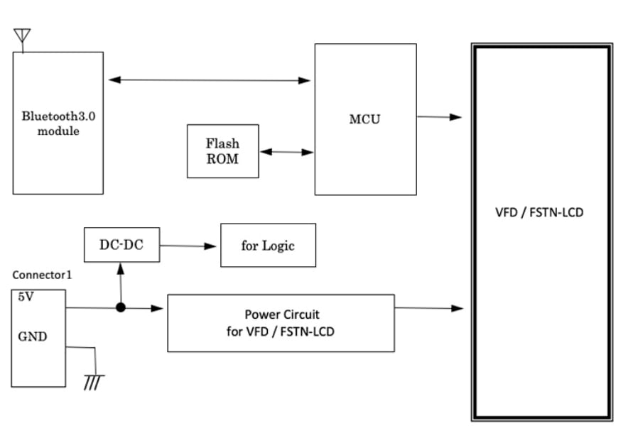
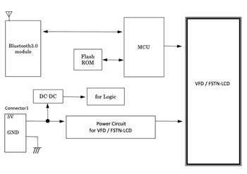
BLUETOOTH Diagram

Chart - Futaba AH Series Slim Design Display Modules

Selectable Displays Chart

Chart - Futaba AH Series Slim Design Display Modules

Specifications

Chart - Futaba AH Series Slim Design Display Modules

USB, BLUETOOTH, RS232C Block Diagrams

Veröffentlichungsdatum: 2019-02-01 | Aktualisiert: 2023-03-24