Ezurio NanoUWB Planar Monopole Antennas
Ezurio NanoUWB Planar Monopole Antennas feature a series of rigid monopole antennas designed to operate with ultra-wideband (UWB) modules. The antennas utilize a short-range, high-bandwidth wireless UWB technology, which enables high-speed data transfer and accurate location tracking. The NanoUWB antennas have a continuous 5850MHz to 8250MHz operating frequency and support UWB channels 5, 6, 7, 8, and 9. The Ezurio NanoUWB Planar Monopole Antennas provide a highly durable, adhesive-backed antenna for use in space-sensitive applications. The NanoUWB series offers a compact package size and is ideal for smart cities, indoor positioning, real-time location systems (RTLS), asset tracking, and factory automation applications.Features
- Rigid planar monopole antenna
- Supports UWB implementations
- Supports UWB channels 5, 6, 7, 8, and 9
- Adhesive backing for space-sensitive applications
- High durability
- Compact form factor
Applications
- Smart cities
- Indoor positioning / RTLS
- Asset tracking
- Factory automation
Specifications
- 5850MHz to 8250MHz operating frequency range
- Single port
- <2.5:1 VSWR
- +3.9dBi max peak gain
- +1.5dBi min peak gain
- >-1.9dB efficiency (>64%)
- 50Ω nominal impedance rating
- Linear polarization
- 20mm x 15mm x 1.67mm dimensions
- MHF4L or MHF1 connector options
- -40°C to +85°C operating temperature range
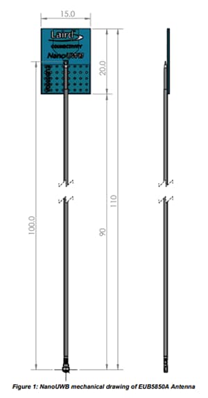
Mechanical Drawing
Veröffentlichungsdatum: 2024-01-23
| Aktualisiert: 2024-04-02
