Diodes Incorporated PI3EQX2024 USB 3.2 Redriver
Der PI3EQX2024 USB 3.2 ReDriver von Diodes Incorporated ist ein stromsparender, hochleistungsfähiger, linearer Gen 2x2 ReDriver™, der speziell für das USB-3.2-Protokoll entwickelt wurde. Dieses Gerät bietet eine programmierbare Entzerrung und eine flache Verstärkung zur Optimierung der Leistung über verschiedene physikalische Medien, indem es Intersymbol-Interferenzen reduziert. Der PI3EQX2024 ReDriver verfügt über eine serielle 5 Gbps- und 10-Gbps-Verbindung mit einem linearen Equalizer und unterstützt zwei 100 Ω differentielle CML-Daten-I/Os. Diese E/As verbinden den Protokoll-ASIC mit einer Switch-Fabric, entweder über Kabel oder durch Erweiterung der Signale über andere Datenpfade auf der Plattform des Benutzers. Der PI3EQX2024 verfügt außerdem über eine automatische Empfängererkennungsfunktion und wird in einem 34-poligen UQFN-Gehäuse (2,5 x 4,5 mm, ZTF34) geliefert. Idealerweise wird dieses Gerät in Laptops, Computern, Smartphones und Speicheranwendungen eingesetzt.Merkmale
- USB-3.2-Gen-2- und Gen-1-kompatibel
- USB-3.2-Gen-2x2-kompatibel
- Link mit 5 GBit/s und 10 GBit/s und linearem Equalizer
- Pin-einstellbare Empfängerentzerrung
- Pin-einstellbare flache Gain
- Einzelne Versorgungsspannung von 3,3 V
- Differential-CML-I/Os von 100 Ω
- Vier differenzielle 10-GBit/s-Signalpaare
- Automatischer Schlummermodus für adaptives Energiemanagement
- Automatische Empfängererkennung
- Patentierte Technologie
- Vollständig RoHs-konform und bleifrei
- Halogen- und antimonfrei
- Bleifreies und umweltfreundliches Gerät
- Gehäuse mit 34-Pin, UQFN 2,5 mm x 4,5 mm (ZTF34)
Applikationsübersicht
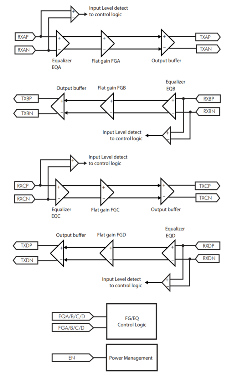
Blockdiagramm
Veröffentlichungsdatum: 2022-03-10
| Aktualisiert: 2022-05-30
