Diodes Incorporated APR34910 Sekundärseitiger SR-Schalter
Der Diodes Inc. APR34910 sekundärseitige SR-Schalter ist ein sekundärseitiger Kombinations-IC, der einen n-Kanal-MOSFET mit einer Treiberschaltung verbindet, die für die Synchrongleichrichtung (SR) ausgelegt ist. Der APR34910 unterstützt einen kontinuierlichen Strombetriebsmodus (CCM), einen diskontinuierlichen Leitungsmodus (DCM) und eine Quasi-Resonanz-Flyback-Funktionsweise. Das Bauteil bietet für eine sichere Funktionsweise eine kurze Einschalt- und Ausschaltverzögerung, die die Verlustleistung reduziert und falsche Auslöser verhindert, ohne dass externe Komponenten hinzugefügt werden müssen.Der APR34910 kann über einen internen PLR (Pulse Linear Regulator, PLR) bei niedriger Systemausgangsspannung geladen werden und bietet einen großen Ausgangsbetriebsspannungsbereich von 3,3 V bis 24 V. Der APR34910 ist in einem SO-8-Gehäuse (Typ CJ2) erhältlich.
Merkmale
- Unterstützt Flyback-Synchrongleichrichtung mit CCM/DCM/QR-Betriebsmodus
- Intelligente Steuerung zur Minimierung der Ein- und Ausschaltverzögerung
- Smart-Austastregelung zur Verhinderung von Durchzündung
- Unterstützt sowohl eine High-Side- als auch Low-Side-Applikation
- Integriertes PLR-Netzteil für niedrige Systemausgangsspannung
- Interner UVLO-Schutz
- Geringste Anzahl externer Komponenten
- Bleifrei und RoHs-konform
- Halogen- und antimonfreies umweltfreundliches Bauteil
Applikationen
- Schnell-Ladegeräte für Smartphones
- Adapter für Notebook-Computer
- Set-Top-Box-Netzteile (STB)
- Andere kompakte AC/DC-Schaltadapter/Ladegeräte
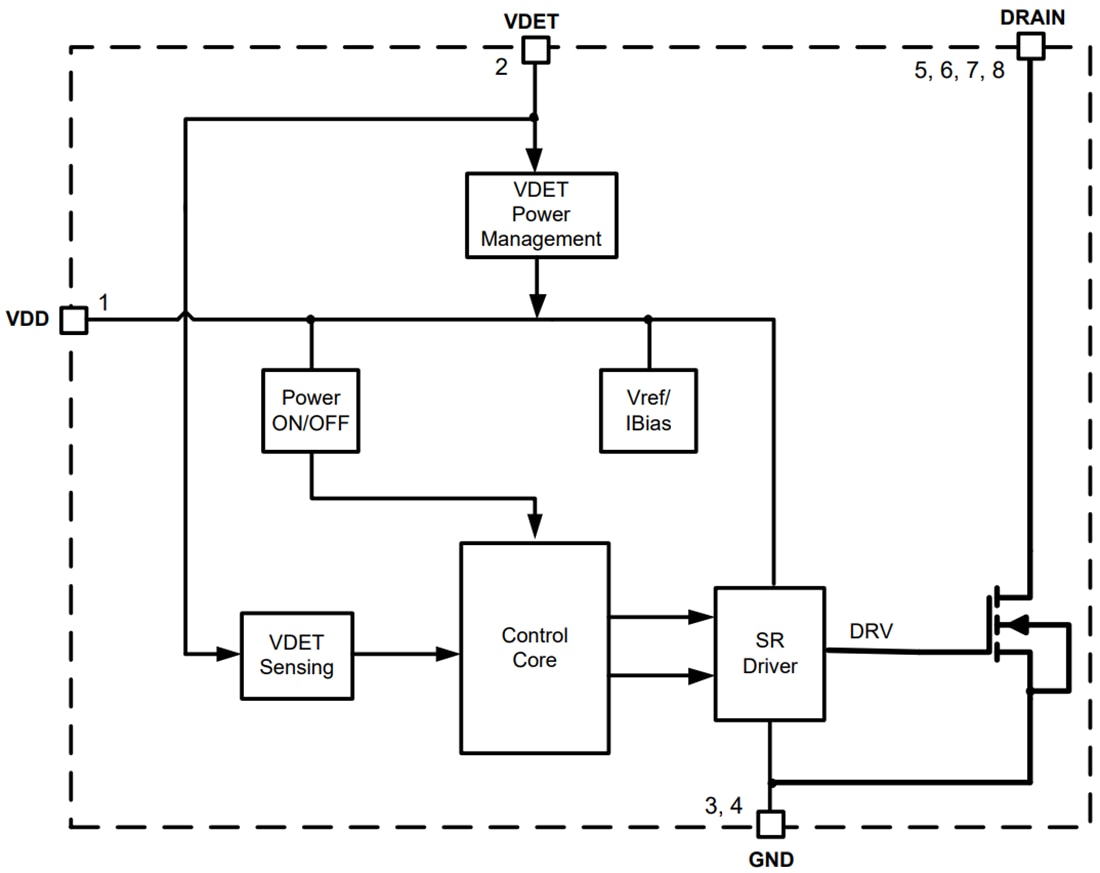
Funktionales Blockdiagramm
Veröffentlichungsdatum: 2022-02-16
| Aktualisiert: 2022-04-29
