Diodes Incorporated AP61406Q I2C-Abwärtswandler
Diodes Incorporated AP61406Q I2C-Abwärtswandler bieten einen Eingangsspannungsbereich von 2,3 V bis 5,5 V und sind bis zu 4 A wählbar. Der synchrone Abwärtswandler integriert einen High-Side-Leistungs-MOSFET von 75 mΩ und einen Low-Side-Leistungs-MOSFET von 33 mΩ vollständig, um eine hocheffiziente Abwärts-DC/DC-Wandlung zu gewährleisten. Der AP61406Q von Diodes Inc ist einfach zu bedienen und minimiert die Anzahl externer Bauteile durch seine Constant-On-Time-Steuerung (COT), die schnelle Transientenreaktionen ermöglicht, die Schleifenstabilisierung erleichtert und die Welligkeit der Ausgangsspannung reduziert.Die Baureihe bietet sowohl feste als auch einstellbare Ausgangsspannungen. Die Wandler verwenden außerdem ein proprietäres Gate- Treiber-Schema, um das Klingeln der Schaltknoten zu minimieren, ohne die Ein- und Ausschaltzeiten der MOSFETs zu beeinträchtigen. Dadurch werden hochfrequente, abgestrahlte EMI-Störungen, die durch das Schalten der MOSFETs verursacht werden, reduziert.
Der AP61406Q verfügt über eine serielle I2C-kompatible Zweidraht-Schnittstelle mit einer bidirektionalen seriellen Datenleitung (SDA) und einer seriellen Taktleitung (SCL). Das Bauteil unterstützt SCL-Taktraten von bis zu 3,4 MHz.
Der AP61406Q verfügt über optimierte Designs für eine kleine Baugröße. Das Bauteil ist in einem W-QFN1520-8/SWP(Typ UX)-Gehäuse erhältlich.
Der AP61406Q eignet sich für Fahrzeuganwendungen, die eine spezifische Änderungskontrolle erfordern; er ist AEC-Q100-qualifiziert, PPAP-fähig und wird in IATF 16949-zertifizierten Anlagen hergestellt.
Merkmale
- Mit den folgenden Ergebnissen AEC-Q100-qualifiziert:
- Gerätetemperaturklasse 1: -40 °C bis +125 °C TA
- Bauelement HBM-ESD Klassifizierungsstufe H1C
- Geräte-CDM-ESD-Klassifizierungsstufe C3B
- Funktionale Sicherheitsfähigkeit – verfügbare Dokumentation zur Unterstützung des Designs funktionaler Sicherheitssysteme
- Extrem niedriger Ruhestrom (Pulsfrequenzmodulation): 20 µA
- I2C von bis zu 3,4 MHz SCL Taktraten
- Programmierbarer Modus – PFM/PWM
- Programmierbare Frequenz – 1 MHz, 1,5 MHz, 2 MHz, 2,5 MHz
- Programmierbarer IOUT – 1 A/2 A/3 A/4 A
- VOUT-Einstellung in Schritten von 20 mV
- Benetzbarer Flansch
- VIN = 2,3 V bis 5,5 V
- Großer Ausgangsspannungsbereich von 0,300 V bis 3.600 V
- Referenzspannung (Standardeinstellung): 0,5 V, ±2 %
- Power-Good-Anzeige
- Schutzschaltung
- Unterspannungssperre (UVLO)
- VIN-Überspannungsschutz (OVP)
- Strombegrenzung für Spitzen- und Talwerte
- Überhitzungsschutz
- Vollständig RoHS-konform und völlig bleifrei
- Halogen- und antimonfreies „grünes“ Bauteil
- AEC-Q100-qualifiziert, PPAP-fähig und hergestellt in IATF 16949 zertifizierten Anlagen (AP61406Q).
Applikationen
- Automotive-Antriebssysteme
- Automotive-Infotainment
- Kombiinstrumente für Fahrzeuge
- Fahrzeug-Telematik
- Fahrerassistenzsysteme
Technische Daten
- Buck-Typ
- 75 mΩ HS RDS(ON)
- 33 mΩ LS RDS(ON)
- 5,5 V maximale Eingangsspannung
- 2,3 V minimale Eingangsspannung
- 20 µA Ruhestromtyp
- 0,02 µA Stromart beim Ausschalten
- 4 A Ausgangsstrom
Typisches Applikations-Schaltschema
Wirkungsgrad vs. Ausgangsstrom
Kontaktzuweisungen
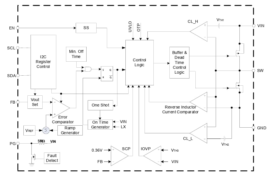
Funktionales Blockdiagramm
