Diodes Incorporated AP43771 Hochleistungs-USB-Typ-C-PD-Controller

Der AP43771 Hochleistungs-USB-Typ-C™ Power-Delivery-Controller von Diodes Inc. ist für USB-Typ-C-Adapter- und Ladegerät-Applikationen ausgelegt. Diodes Inc. AP43771 ist mit dem Qualcomm QC4/QC4 + Protokoll kompatibel, das die USB-Power-Delivery-Spezifikation Rev3.0 V1.2 (einschließlich optionaler PPS-Unterstützung) unterstützt. Der AP43771 kann PPS APDO (Augmented Power Data Object) mit einer Spannungsauflösung von 20mV/Schritt und einer Stromauflösung von 50mA/Schritt für das Energiemanagement unterstützen. Darüber hinaus sind eine Kabelverlustkompensation und ein SOP-Befehl für die E-Marker-Erkennung integriert. Der AP43771 kann mit den integrierten OVP-/OCP-/SCP-/OTP-Funktionen ein robustes Schutzsystem bieten.

Merkmale

  • Kompatibel mit USB-PD Rev3.0 V1.2
  • USB-IF PD3.0-/PPS-zertifiziert TID = 1090028
  • Qualcomm QC4/4+-Protokoll-zertifiziert
  • OTP (One-Time-Programmable) für Haupt-Firmware
  • MTP (Multi-Time-Programmable) für Systemkonfiguration
  • Integrierter Regler für CV- und CC-Steuerung
  • Unterstützt SCP/OTP/OVP/UVP mit automatischem Neustart
  • Unterstützt den Stromsparmodus
  • Externe n-MOSFET-Steuerung für VBUS-Power-Delivery
  • Unterstützt die Erkennung von E-Marker-Kabeln
  • Betriebsspannungsbereich: 3,3 V bis 20 V
  • Geringste Anzahl externer Komponenten
  • Bleifrei und vollständig RoHS-konform
  • Halogen- und Antimonfreies umweltfreundliches Bauteil

Applikationen

  • USB-Typ-C-Adapter/-Ladegerät
  • USB-PD-Wandler

Infografik

Tabelle - Diodes Incorporated AP43771 Hochleistungs-USB-Typ-C-PD-Controller

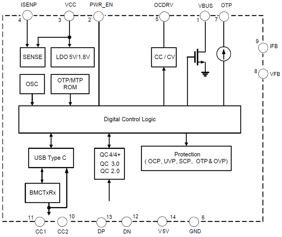
Funktionales Blockdiagramm

Blockdiagramm - Diodes Incorporated AP43771 Hochleistungs-USB-Typ-C-PD-Controller
Veröffentlichungsdatum: 2020-01-17 | Aktualisiert: 2024-07-03