Diodes Incorporated AH396xQ Automotive-Dual-Hall-Effekt-Verriegelungen

Diodes Incorporated AH396xQ Automotive-Dual-Hall-Effekt-Verriegelungen sind Hochspannungssensoren, die mit einer genauen Geschwindigkeits- und Richtungserkennung ausgelegt sind. Diese Dual-Hall-Verriegelungen bieten eine temperaturkompensierte Stromversorgung für interne Schaltungen mit spannungsstabilisierter Architektur und einem internen Bandlückenregler. Die AH396xQ Verriegelungen werden in einem Versorgungsspannungsbereich von 2,7 V bis 27 V und einem Temperaturbereich von -40 ° °C bis 125 ° °C betrieben. Diese Verriegelungen bieten einen Batterie-Verpolungsschutz, einen Überspannungsschutz und einen   UVLO-Schutz. Die AH3965/AH3966/AH3967 Verriegelungen bieten Geschwindigkeits- und  -Richtungsausgänge, während der AH3968 zwei unabhängige Ausgänge bietet.

Diese Kfz-Verriegelungen sind bleifrei, halogenfrei, antimonfrei, vollständig RoHs-konform und AEC-Q100/101/104/200-qualifiziert. Typische Applikationen umfassen  Industriemotoren, Weißware,  Pumpen, Drehzahl- und Richtungserkennung, lineare Geschwindigkeits- und Richtungserkennung und Winkelpositionserkennung.

Merkmale

  • Geschwindigkeits- und   Richtungsausgang (AH3965/AH3966/AH3967) und dual-Ausgänge (AH3968)
  • Breiter Versorgungsspannungsbereich: 2,7 V bis 27 V
  • Chopper-stabilisiertes Design bietet:
    • Hervorragende Temperaturstabilität
    • Minimaler Schaltpunkt-Drift
    • Verbesserte Beständigkeit gegen Belastungen
  • Batterie-Verpolungsschutz
  • Überspannungsschutz
  • UVLO-Schutz
  • HBM = 5 kV, CDM = 2 kV Hohe ESD-Bewertung
  • Betriebstemperaturbereich -40 °C bis 125 °C
  • Blei, halogen– und antimonfrei
  • RoHs-konform

Applikationen

  • Industriemotoren
  • Weißware
  • Pumpen
  • Drehzahl- und Richtungserkennung
  • Lineare Geschwindigkeits- und Richtungserkennung
  • Winkelpositionserkennung

Applikations-Schaltungs-Diagramm

Applikations-Schaltungsdiagramm - Diodes Incorporated AH396xQ Automotive-Dual-Hall-Effekt-Verriegelungen

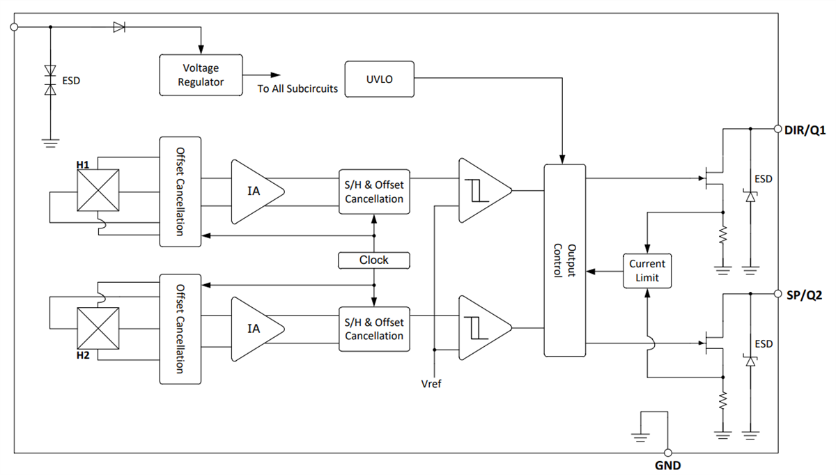
Funktionales Blockdiagramm

Blockdiagramm - Diodes Incorporated AH396xQ Automotive-Dual-Hall-Effekt-Verriegelungen
Veröffentlichungsdatum: 2023-08-09 | Aktualisiert: 2023-08-21