Cirrus Logic CS5463 & CS5464 Power/Energy ICs

Cirrus Logic CS5463 and CS5464 Power/Energy ICs deliver superior power-measurement performance. The Cirrus Logic CS5463 is an integrated power-measurement IC that combines two Delta-Sigma A/D converters, high-speed power calculation functions, and a serial interface on a single chip. The CS5463 is designed for residential single-phase or industrial three-phase power meter applications.

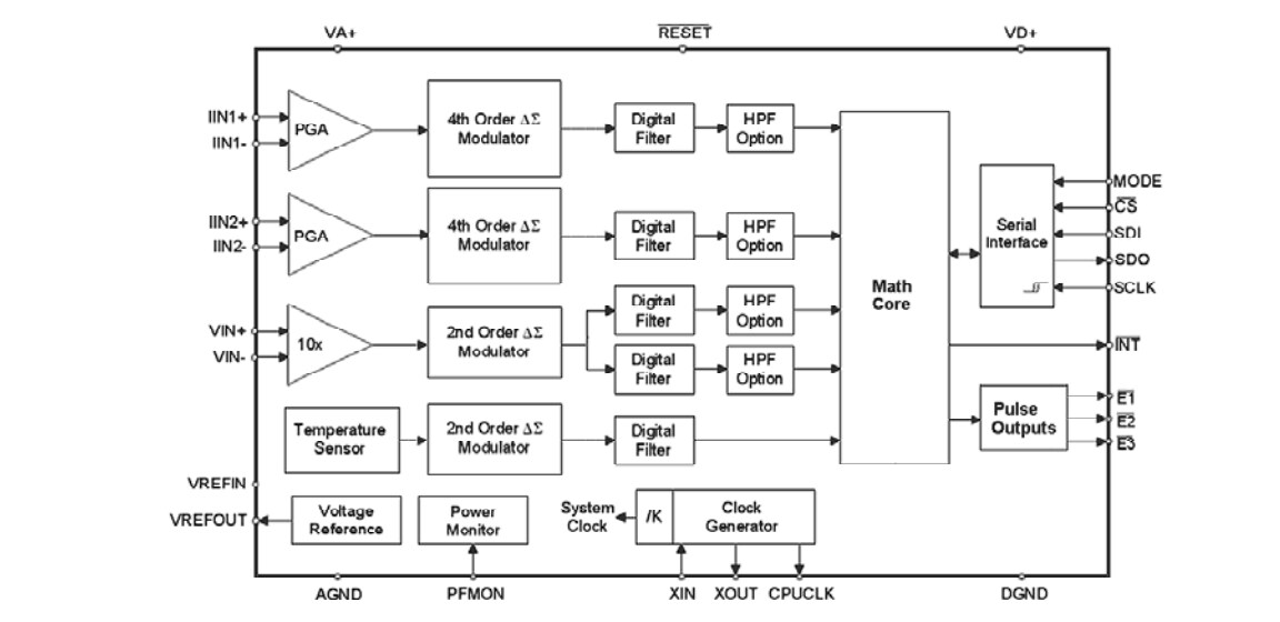
The CS5464 Power/Energy IC is a watt-hour meter on a chip that measures line voltage and current and calculates active, reactive, apparent power, energy, power factor, and RMS voltage and current. The Cirrus Logic CS5464 utilizes fourth-order Delta Sigma 24-bit A/D converters, offering double the dynamic range of competing ICs. The CS5464 also features advanced programmable fault / tamper detection.

CS5463 Block Diagram

Block Diagram - Cirrus Logic CS5463 & CS5464 Power/Energy ICs

CS5464 Block Diagram

Block Diagram - Cirrus Logic CS5463 & CS5464 Power/Energy ICs
Veröffentlichungsdatum: 2010-03-02 | Aktualisiert: 2022-03-11