Broadcom APDS-9922/APDS-9160 Sensoren
Die APDS-9922/APDS-9160 Umgebungslicht- und Näherungssensoren von Broadcom bieten einen digitalen I2C-kompatiblen Schnittstellen-Umgebungslichtsensor (ULS) und Näherungssensor mit IR-LED in einem einzigen 8-Pin-Gehäuse. Der ULS ermöglicht eine photopische Reaktion auf die Lichtstärke unter Bedingungen mit wenig Licht oder hinter einer dunklen Blende. Das Bauteil approximiert die Reaktion des menschlichen Auges und bietet eine direkte Ablesung, wobei der Ausgang proportional zur Anzahl der Lichtstärke des Umgebungslichts ist. Die APDS-9922/APDS-9160 Sensoren verfügen über eine schwache Lichtfunktionalität und ermöglichen den Betrieb hinter dunklem Glas. Die Näherungserkennungsfunktion funktioniert gut beim hellem Sonnenlicht bis hin zu dunklen Räumen. Die mikro-optischen Linsen innerhalb des Moduls ermöglichen eine hocheffiziente Übertragung und den Empfang von Infrarotstrahlung, was die Gesamtverlustleistung senkt. Das Bauteil verwendet den Standby-Modus mit geringem Stromverbrauch, was zu einem sehr niedrigen durchschnittlichen Stromverbrauch führt.Merkmale
- ALS, IR-LED und Näherungsdetektor in einem optischen Modul
- Umgebungslichtabtastung (ULS)
- Lichtausgang proportional zur Lichtstärke
- Nutzt eine optische Beschichtungstechnologie, um die spektrale Empfindlichkeit des menschlichen Auges zu emulieren
- Funktioniert gut unter verschiedenen Lichtquellenbedingungen
- Schwache Lichtempfindlichkeit - wird hinter dunklem Glas betrieben
- Bis zu 20 Bit Auflösung
- Näherungserkennung
- Integrierter IR-LED- und Synchron-LED-Treiber
- Bis zu 11 Bit Auflösung
- Leistungsmanagement
- Niedriger Aktivstrom
- Niedriger Stromverbrauch im Standby-Modus
- Kompatibel mit I2C-Schnittstelle
- Bis zu 400 kHz (I2C-Schnellmodus)
- Dedizierter Interrupt-Pin
- Großer Versorgungsspannungsbereich: 1,7 V bis 3,6 V
- Kleines Gehäuse
Applikationen
- Handy-Hintergrundverdunkelung
- Handy-Touchscreen-Deaktivierung
- Automatische Lautsprecher-Aktivierung
- Digitalkamera-Augensensor
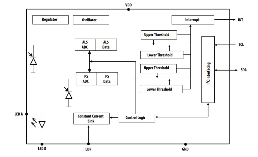
APDS-9160-003 Blockdiagramm
APDS-9922-001 Blockdiagramm
Veröffentlichungsdatum: 2018-12-17
| Aktualisiert: 2024-09-19
