Broadcom AFBR-S10TR001Z Transceiver
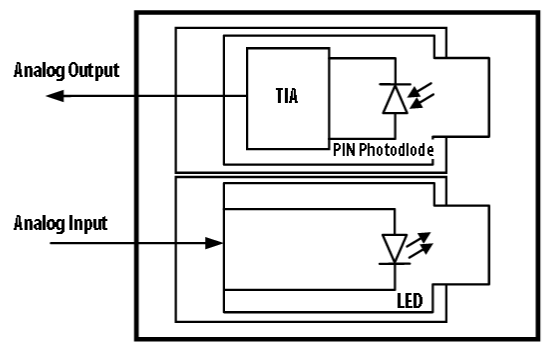
Der AFBR-S10TR001Z Transceiver von Broadcom ist in einem sehr kompakten Design mit einem Formfaktor, der dem RJ-Steckverbinder ähnlich ist, verfügbar. Verfügt über einen kompakten, formschlüssigen und vielseitigen Link-Duplex-Steckverbinder, der auch mit dem vielseitigen Link-Simplex-Steckverbinder kompatibel ist. Dieser Transceiver integriert LEDs für System-Selbsttest-Applikationen, während der Empfänger aus einer PD und einem TIA auf einem einzigen IC besteht. Der AFBR-S10TR001Z Transceiver ermöglicht die Implementierung eines optischen Lichtbogensensors über eine 1mm-Kunststoff-Glasfaser (POF). Diese bleifreien und RoHS-konformen Transceiver werden für die Lichtbogen-Erkennung verwendet.Merkmale
- Integrierte LED für System-Selbsttest-Applikation
- Hohe EMI-Robustheit
- Schnelle Anstiegsrate
- Kompakter Footprint
- Temperaturbereich -40 ºC bis 85 ºC
- RoHS-konform
- Vielseitiges Link-Steckverbindersystem
Blockdiagramm
Veröffentlichungsdatum: 2017-05-04
| Aktualisiert: 2022-03-11
