Analog Devices / Maxim Integrated MAX34427 Leistungsakkumulatoren mit hohem Dynamikbereich
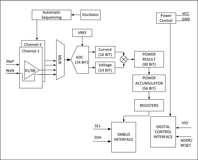
Analog Devices MAX34427 Leistungsakkumulatoren mit hohem Dynamikbereich sind spezielle Strom-, Spannungs- und Leistungswächter. Der MAX34427 wird zur Bestimmung des Stromverbrauchs von Systemen verwendet. Der große Dynamikbereich (20.000:1) des Bauteils ermöglicht eine genaue Leistungsmessung. Das Bauteil von Analog Devices wird mit einer seriellen Standard-I2C-/SMBus-Schnittstelle konfiguriert und überwacht. Der unidirektionale Stromsensor bietet einen präzisen High-Side-Betrieb mit einer niedrigen Sensor-Spannung bei Vollausschlag.Merkmale
- Ermöglicht eine Code-Optimierung zur Reduzierung des Stromverbrauchs in tragbaren Plattformen
- Zwei Leistungsmonitore mit einem großen Dynamikbereich von 86 dB
- Misst Strom und Spannung
- Fähigkeit, nur akkumulierten Strom oder akkumulierte Leistung zu messen
- Reduzierter Stromverbrauch im langsamen Akkumulationsmodus
- Abschaltmodus
- Reduziert den Prozessor-Overhead mit eigenständigem Betrieb
- Leistungsakkumulatoren mit 56-Bit pro Kanal sammeln 2,27 Stunden lang Daten mit 2.048 Samples pro Sekunde
- 14-Bit-Spannungsregister pro Kanal
- Die Lösung mit hoher Integration reduziert die Anzahl der Bauteile, den PCB-Platz und die BOM-Kosten
- Stromsensor-Spannung von 5 μV bis 100 mV mit einem Strom-Gleichtaktbereich von 0,5 V bis 24 V
- 16 programmierbare I2C-Adressen
- I2C-/SMBus-Schnittstelle mit Bus-Timeout
- Temperaturbereich: -40 °C bis +85 °C
- Kleines WLP-Gehäuse mit 12 Bumps und einem Footprint von 2,24 mm x 1,91 mm bei einem Rastermaß von 0,5 mm und ein 12-Pin-TDFN-Gehäuse mit einem Footprint von 3 mm x 3 mm
- Einfache Entwicklung
- Evaluierungskit mit erweiterter GUI
Applikationen
- Tablets
- Ultra-Notebooks
- Workstations
- Server
- VR/AR-Kopfhörer
Blockdiagramm
Veröffentlichungsdatum: 2022-11-29
| Aktualisiert: 2023-04-14
