Analog Devices / Maxim Integrated MAX30205 Körpertemperatursensor

Der Maxim Integrated MAX30205 Körpertemperatursensor misst die Temperatur und bietet einen Übertemperaturalarm/Interrupt-/Abschalt-Ausgang. Der MAX30205 wandelt Temperaturmessungen mit einem hochauflösenden Sigma-Delta-Analog-Digital-Wandler (ADC) in eine digitale Form um. Monostabile und Abschaltmodi tragen zur Reduzierung des Stromverbrauchs bei. Das Gerät kommuniziert über eine übliche serielle, I2C-kompatible 2-Draht-Schnittstelle.

The I2C serial interface of the MAX30205 accepts standard write byte, read byte, send byte, and receive byte commands to read the temperature data and configure the behavior of the open-drain overtemperature shutdown output.

The MAX30205 features three select address lines with 32 available addresses. The sensor has a 2.7V to 3.3V supply voltage range, a low 600µA supply current, and a lockup-protected I2C-compatible interface that makes the device ideal for wearable fitness and medical applications.

The Analog Devices MAX30205 Human Body Temperature Sensor is available in an 8-pin TDFN package and operates over the 0°C to +50°C temperature range.

Merkmale

  • Hohe Genauigkeit und Niederspannungsbetrieb unterstützen Entwickler bei der Erfüllung der Fehler- und Energiebudgets
    • 0,1 °C Genauigkeit (37 °C bis 39 °C)
    • 16-Bit (0,00390625 °C) Temperaturauflösung
    • 2,2 V bis 3,3 V Versorgungsspannung
  • Monostabile und Abschaltmodi tragen zur Reduzierung des Stromverbrauchs bei.
  • 600 µA (typ.) Betriebsversorgungsstrom
  • Digitale Funktionen machen die Integration in jedes System einfacher
    • Wählbares Timeout verhindert Bussperrung.
    • Separater Open-Drain-OS-Ausgang arbeitet als Unterbrechung oder Komparator/Thermostat-Ausgang

Applikationen

  • Fitness
  • Medizintechnik

Videos

Typische Applikations-Schaltung

Applikations-Schaltungsdiagramm - Analog Devices / Maxim Integrated MAX30205 Körpertemperatursensor

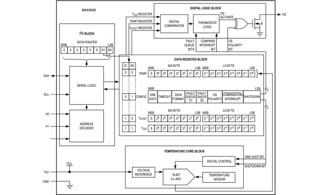
Block Diagram

Blockdiagramm - Analog Devices / Maxim Integrated MAX30205 Körpertemperatursensor
Veröffentlichungsdatum: 2016-10-28 | Aktualisiert: 2023-04-21