Analog Devices / Maxim Integrated MAX20754 Mehrphasiger Stromversorgungs-Controller
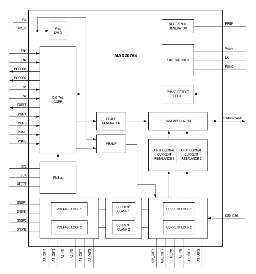
Der Analog Devices MAX20754 konfigurierbare Mehrphasen-Stromversorgungs-Controller ist für die Verwendung mit den integrierten Dual Powertrain™-Leistungsstufen optimiert und für Kommunikations- und Netzwerkapplikationen ausgelegt. Der MAX20754 erzeugt sechs pulsweitenmodulierte Ausgänge oder “Phasen” mit einer konfigurierbaren Anzahl pro Ausgangskanal. Diese Konfiguration unterstützt Hochstrom Anforderungen und eine oder zwei Ausgang Spannungen.Der mehrphasige Stromversorgungs-Controller MAX20754 von Analog Devices ist äußerst vielseitig und verfügt über einen integrierten Schaltregler, der sowohl den Controller als auch die Bauteile der Leistungsstufe mit Strom versorgt. Der MAX20754 bietet genaue Laststromberichte, Temperaturüberwachung in der Leistungsstufe, Fehlererkennung und umfangreiche PMBus-Befehlsunterstützung. Benutzer können PMBus-Parameter über den MAX20754 in einem nichtflüchtigen Speicher speichern.
Der Regler ist flexibel und kann mit herkömmlichen diskreten Induktoren oder mit gekoppelten Induktortopologien verwendet werden. Gekoppelte Induktivitäten reduzieren den effektiven Induktionswert und die Größe, ohne den Ripplestrom zu erhöhen, verringern die erforderliche Ausgangskapazität und verbessern das Einschwingverhalten.
Der MAX20754 nutzt ein fortschrittliches Modulationsschema (AMS), das ein ausgezeichnetes Einschwingverhalten und eine geringere erforderliche Ausgangskapazität im Vergleich zur herkömmlichen Pulsweitenmodulation (PWM) bietet. Das AMS kann deaktiviert werden, wenn ein strikter PWM-Betrieb mit fester Frequenz erforderlich ist.
Merkmale
- Vielseitiger und flexibler Controller
- Erzeugt bis zu sechs PWM-Signale
- Einzel- oder Dualspannungsausgang mit flexibler Phasenzuordnung
- 0,5 V bis 2,0 V Ausgangsspannungsbereich (MAX20754ETMA1+)
- 0,25 V bis 2,0 V Ausgangsspannungsbereich (MAX20754ETMA2+)
- 4,5 V bis 16 V Eingangsspannungsbereich
- 300 kHz bis 800 kHz Schaltfrequenzbereich
- Hohe Leistungsdichte bei geringer Gesamtgröße der Lösung
- Unterstützt die Koppelinduktor-Technologie
- Fortschrittliches Modulationsverfahren verbessert Einschwingverhalten
- Hohe Schleifenbandbreite reduziert die Anforderungen an die Ausgangskapazität
- 48-Pin (7 mm x 7 mm) TQFN-Gehäuse
- Phasenstromsteuerung für den thermischen Ausgleich
- Effizienter integrierter interner Schaltregler versorgt Controller und Leistungsstufen
- Einfache Systemkonfiguration
- Vier externe Widerstände stellen Ausgangsspannung, Busadresse, Schaltfrequenz und Stromgrenze ein
- Umfassende PMBus-Konfiguration, -Steuerung und -Telemetrie
- Kompatibel mit PMBus-Standard, Revision 1.3
- 10 kHz bis 1 MHz Busgeschwindigkeit
- PMBus-Befehlseinstellungen werden im nichtflüchtigen Speicher gespeichert
- Genaue Berichte über Strom, Spannung und Temperatur
Applikationen
- Kommunikation, Netzwerke, Server und Speichergeräte
- ASICs, DSPs und FPGAs
- Mikroprozessor-Chipsätze
- DDR-Speicher
Videos
Einfache Applikations-Schaltung
Funktionsdiagramm
