Analog Devices / Maxim Integrated DS28C40 DeepCover Automotive-I2C-Authentifizierer
Die DeepCover Automotive-I2C-Authentifizierer DS28C40 von Analog Devices bieten einen Kernsatz von Kryptografietools, die von integrierten asymmetrischen (ECC-P256) und symmetrischen (SHA-256) Sicherheitsfunktionen abgeleitet sind. Die Bauteile integrieren einen FIPS/NIST-zertifizierten echten Zufallsnummerngenerator (TRNG), einen einmalig programmierbaren (OTP) Speicher von 6 KB für Benutzerdaten, Schlüssel und Zertifikate, einen konfigurierbaren GPIO und eine eindeutige 64-bit-ROM-Identifikationsnummer (ROM-ID). Die öffentlichen/privaten ECC-Schlüsselfunktionen operieren von der NIST-definierten P-256-Kurve, einschließlich FIPS 186-4-konforme ECDSA-Signaturgenerierung und -verifikation, um ein bidirektionales asymmetrischen Schlüsselauthentifizierungsmodell zu unterstützen. Die geheimen Schlüssel-Funktionen des SHA-256 entsprechen FIPS 180 und ermöglichen Flexibilität, wenn sie in Verbindung mit dem ECDSA-Betrieb oder unabhängig für mehrere HMAC-Funktionen verwendet werden.Der DS28C40 DeepCover Automotive-I2C-Authentifikator-GPIO-Pin von Analog Devices kann unter der Befehlssteuerung betrieben werden und enthält eine Konfigurierbarkeit, die den authentifizierten und nicht authentifizierten Betrieb unterstützt. Dies umfasst einen auf ECDSA-basierten kryptografisch robusten Modus zur Unterstützung des sicheren Starts eines Host-Prozessors. DeepCover ® eingebettete-Sicherheitslösungen verbergen sensible Daten unter mehreren Ebenen fortschrittlicher Sicherheit und bieten so die sicherste Schlüsselspeicherung. Invasive und nicht-invasive Gegenmaßnahmen, einschließlich aktiver Chip-Abschirmung, verschlüsselter Speicherung von Schlüsseln und algorithmische Methoden, werden implementiert, um sich gegen Sicherheitsangriffe auf Geräteebene zu schützen.
Merkmale
- ECC-P256 Rechner-Engine
- FIPS 186 ECDSA P256 Signaturerstellung und -verifizierung
- ECDH-Schlüsselaustausch für Session-Schlüsseleinrichtung
- ECDSA-authentifiziertes Lesen/Schreiben von konfigurierbarem Speicher
- SHA-256-Rechner-Engine
- FIPS 198 HMAC für bidirektionale Authentifizierung
- SHA-256 OTP-verschlüsselter (One-Time-Pad, OTP) R/W-konfigurierbarer Speicher über ECDH-etablierten Schlüssel
- Ein GPIO-Pin mit optionaler Authentifizierungssteuerung
- Open-Drain, 4 mA/0,4 V
- Optionales SHA-256- oder ECDSA-authentifiziertes Ein/Aus und Auslesen des Zustands
- Optionale ECDSA-Zertifizierung, um Ein/Aus nach einem Multiblock-Hash für ein sicheres Hochfahren festzulegen
- TRNG mit NIST SP 800-90B-konformer Entropiequelle und Auslesefunktion
- Optionale, vom Chip-generierte Private/öffentliche (Pr/Pu) Schlüsselpaare für ECC-Betriebsabläufe
- 6 KB einmalig programmierbar (OTP) für Benutzerdaten, Schlüssel und Zertifikate
- Einzigartige und unabänderliche im Werk programmierte 64-Bit-Identifikationsnummer (ROM-ID)
- Optionale Eingabedatenkomponente für kryptografische- und Schlüsselvorgängen
- I2C-Kommunikation bis zu 1 MHz
- 3,3 V ±10 %, -40 °C bis +125 °C Betriebsbereich
- 10-Pin, 3 mm x 4 mm, TDFN-Gehäuse
- Nach AEC-Q100 Klasse 1 qualifiziert
Applikationen
- Sichere Automotive-Authentifizierung
- Identifizierung und Kalibrierung von Automotive-Bauteilen/Tools/Zubehör
- Kryptografischer Schutz von IoT-Knoten
- Sichere Authentifizierung von Zubehör und Peripherie
- Sichere Speicherung von kryptografischen Schlüsseln für einen Host-Controller
- Sicheres Hochfahren oder Herunterladen von Firmware bzw. Systemparametern
Videos
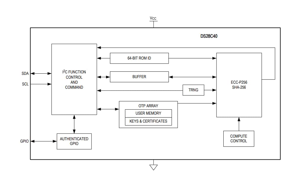
Vereinfachtes Blockdiagramm
Üblicher Anwendungsschaltkreis
