Analog Devices / Maxim Integrated MAX25560 LED-Treiber
Analog Devices / Maxim Integrated MAX25560 LED-Treiber sind 6-Kanal -LED- Hintergrundbeleuchtungs-Treiber mit integriertem Strommodus- Boost Controller. Diese LED-Treiber arbeiten bei 400 kHz bis 2,2 MHz Schaltfrequenzbereich und integrieren Frequenzspreizung. Das MAX25560 Gerät kann dank eines einzigartigen Eingangsspannungsumschaltschemas bis hinunter zu sehr niedrigen Batteriespannungen betrieben werden. Diese Treiber sind in einem kompakten TQFN-Gehäuse erhältlich und arbeiten im Temperaturbereich von -40°C bis 125°C. Die MAX25560-Treiber eignen sich ideal für Kombiinstrumente, zentrale Informationsanzeigen und Head-up-Displays in Kraftfahrzeugen.Merkmale
- Arbeitet bis zu 3 V bei Batterieeingang, während der GATE -Antrieb 5 V erhalten bleibt
- Breiter Boost- Tastverhältnisbereich
- Boost- oder SEPIC DC/DC Regler im Strommodus
- 400 kHz bis 2,2 MHz Betriebsfrequenzbereich
- Optionale Frequenzspreizung
- Kann mit einem externen Taktgeber synchronisiert werden
- LED-Stromsenken
- Bis zu 220 mA Ausgangsstrom pro Kette
- Niedrige OUT-Regelspannung
- Optionale Phasenverschiebung zwischen den Kanälen
- 16667:1 Verdunkelungs-Verhältnis 200 Hz
- Externe oder interne (I2C) Verdunkelung
- > 16667:1 Verdunkelungs-Verhältnis mit Hybrid- Verdunkelung
- Integrierte elektrische Ladungspumpe zum Antrieb eines Baureihe nMOSFET
- Temperaturrückführung mit einem externen NTC-Temperatursensor
- Option für einen schnellen Start ohne I2C-Intervention, nur mit dem EN-Pin
- Die FLTB- Ausgang bietet Diagnoseinformationen:
- Kurzgeschlossene oder offene LEDs
- Jegliche zu GND kurzgeschlossene OUT-Pins
- IREF/RT- Widerstand außerhalb des Bereichs
- Thermische Warnung/Abschaltung
- Unterspannung/Überspannung am Boost-Ausgang
- Interne Versorgung V18 außerhalb des Bereichs
- Eingangsüberstrom (gemessen am Boost-Eingang mit externem Messwiderstand)
- I2C Schnittstelle
- Kompaktes TQFN-Gehäuse
Applikationen
- Kombiinstrumente in der Automobilindustrie
- Zentrale Automotive-Informationsdisplays
- Automotive-Head-Up-Displays
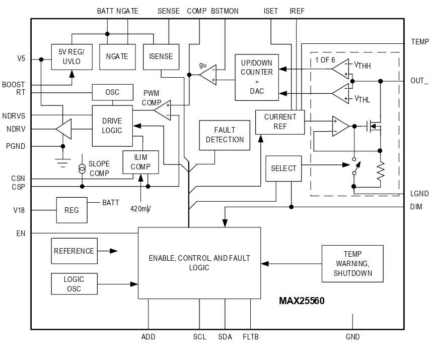
Blockdiagramm
Veröffentlichungsdatum: 2025-09-16
| Aktualisiert: 2025-10-13
