Analog Devices Inc. ADuCM350 16-Bit Präzisionsniedrigstrommessgerät auf einem Chip
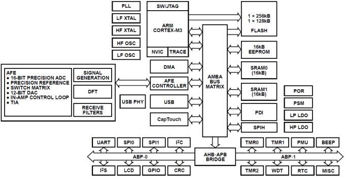
Der ADuCM350 16-Bit Präzisions-Messgeräte-Chip mit geringem Stromverbrauch von Analog Devices ist ein kompletter, über eine Knopfzellenbatterie betriebener, Hochpräzisions-Messgeräte-Chip für eine Reihe von tragbaren Anwendungen wie Point-of-Care-Diagnostik und tragbare Überwachung von Vitalparametern. Der ADuCM350 ist für hochpräzise amperometrische, voltametrische und impedanzbasierte Messfähigkeiten konzipiert. Das analoge Frontend (AFE) des ADuCM350 enthält einen präzisen 16-Bit-ADC mit 160kSPS, eine auf 0,17 % genaue Spannungsreferenz und einen 12-Bit-DAC ohne fehlende Codes, sowie eine rekonfigurierbare Schaltermatrix mit sehr niedrigem Ableitstrom. Der ADuCM350 umfasst auch einen ARM Cortex-M3-basierten Prozessor, Speicher und I/O-Konnektivität zur Unterstützung von tragbaren Messgeräten mit Bildschirm, USB-Kommunikation und aktiven Sensoren.Merkmale
- Analog performance
- 160kSPS, 16-bit, precision analog-to-digital converter (ADC)
- 4 dedicated voltage measurement channels
- 8 current measurement channels Impedance measurement engine
- High precision voltage reference
- Supply noise rejection filtering
- Ultralow leakage configurable switch matrix 12-bit digital-to-analog converter (DAC) Precision instrumentation amplifier control loop
- 6-channel CapTouch controller
- Temperature sensor
- 160kSPS, 16-bit, precision analog-to-digital converter (ADC)
- Analog hardware accelerators
- Autonomous analog front-end (AFE) controller
- Independent sequencer for AFE functions
- Direct digital synthesizer (DDS)/arbitrary waveform generator
- Receive filters
- Complex impedance measurement (DFT) engine
- Processing
- 16MHz Arm Cortex-M3 processor
- 384kB of embedded flash memory
- 32kB system SRAM
- 16kB Flash configured EEPROM
- Integrated full-speed USB 2.0 controller and PHY
- Multilayer advanced microcontroller bus architecture (AMBA) bus matrix
- Central direct memory access (DMA) controller
- Real-time clock (RTC)
- General-purpose, wake-up, and watchdog timers
- Communication Input/Output
- I2S and beeper interface
- LCD display controller (parallel and serial)
- LCD segment controller
- SPI, I2C, and UART peripheral interfaces
- Programmable GPIOs
- Power
- Coin cell battery compatible
- 2.5V to 3.6V active measurement range
- Power management unit (PMU)
- Power-on reset (POR) and power supply monitor (PSM)
- Packages and temperature range
- Operating temperature range: −40°C to +85°C
- Package: 120-lead, 8mm × 8mm CSP_BGA
Applikationen
- Point-of-care diagnostics
- Body-worn devices for monitoring vital signs
- Amperometric, voltametric, and impedometric measurements
Functional Block Diagram
Additional Resources
Condition-Based Monitoring of the Human Body
With advances in technology, vital sign monitoring will become increasingly common in various industries and throughout our daily lives. Whether used for treatment or prevention, such health-related solutions call for reliable and robust technology.
Learn More
Bioelectrical Impedance Analysis in Monitoring of the Clinical Status and Diagnosis of Diseases
Veröffentlichungsdatum: 2014-07-10
| Aktualisiert: 2025-03-10
