Analog Devices Inc. ADSP-21591/ADSP-21593 SHARC+ Dual-Core-DSPs
Die ADSP-21591/ADSP-21593 SHARC+ Dual-Core-DSPs von Analog Devices Inc. sind Mitglieder der SIMD-SHARC-Produktfamilie (Single Instruction, Single Data, SIMD) von digitalen Signalprozessoren (DSPs), die über die Super-Harvard-Architektur von ADI verfügen. Die ADSP-21591/ADSP-21593 DSPs sind mit einem großen On-Chip-SRAM (statischem RAM), mehreren internen Bussen, die Ein-/Ausgangs-Engpässe (I/O) beseitigen, und innovativen digitalen Audio-Schnittstellen (DAI) für Hochleistungs-Audio-/Fließkomma-Applikationen optimiert. Die Bauteile sind als 32-bit-, 40-bit- oder 64-bit-Fließkomma-Prozessoren erhältlich. Darüber hinaus bieten die Bauteile Cache-Verbesserungen und Verzweigungsvorhersage bei gleichzeitiger Beibehaltung der Befehlssatzkompatibilität mit früheren SHARC-Produkten.Die ADSP-21591/ADSP-21593 SHARC+Dual-Core-DSPs von ADI integrieren eine Reihe von branchenführenden Systemperipherien und Speicher, die sich hervorragend für Applikationen eignen, die eine Programmierbarkeit ähnlich der von RISC-Prozessoren (Reduced Instruction Set Computer), Multimedia-Unterstützung und modernste Signalverarbeitung in einem Paket erfordern. Diese Anwendungen sind auf vielen Märkten zu finden, z. B. in der Automobilindustrie, im professionellen Audiobereich und bei industriellen Anwendungen, die eine hohe Gleitkommaleistung erfordern.
Merkmale
- System
- Verbesserte duale SHARC+ Gleitkomma-Kerne
- Leistungsstarke SHARC+ Kerne (jeweils bis zu 1 GHz)
- Bis zu 5 Mb (640 kB) L1-SRAM-Speicher pro Kern mit Parität (optionale Möglichkeit der Konfiguration als Cache)
- Unterstützung für 32-Bit-, 40-Bit- und 64-Bit-Gleitkommazahlen
- Unterstützung für 32-Bit-Festkommazahlen
- Adressierbarkeit von Byte, Kurzwort, Wort und Langwort
- ARM Cortex-A5-Core
- Bis zu 1 GHz/1600 DMIPS mit NEON/VFPv4-D16
- 32kB L1-Befehls- und Datencaches mit Parität
- 256 kB L2-Cache mit Parität
- Leistungsstarkes DMA-System mit 8 MemDMAs
- On-Chip-Speicherschutz
- Integrierte Sicherheitsfunktionen
- 17 mm × 17 mm, 400-Ball BGA_ED-Gehäuse (Raster 0,8 mm), RoHs-konform
- Speicher
- Großer On-Chip-Level-2-SRAM (L2) mit ECC-Schutz, bis zu 2 MB
- Eine Level-3-Schnittstelle (L3) mit 16-Bit-Schnittstelle zu DDR3/DDR3L-SDRAM-Bausteinen
- Allgemein
- ADSP-2156x Pin-kompatible Gehäuseoptionen
- Verbesserte FIR- und IIR-Beschleuniger, die mit bis zu 1 GHz arbeiten
- Sicherheit und Schutz
- Kryptografische Hardware-Beschleuniger
- Schnelles, sicheres Hochfahren mit IP-Schutz
- Unterstützung für Arm TrustZone
Applikationen
- Fahrzeuganwendungen
- Audioverstärker
- Haupteinheit
- ANC/RNC
- Rücksitz-Entertainmentsystem
- Digitales Cockpit
- ADAS
- Verbraucher
- AVRs
- Mischpulte
- Mikrofon-Arrays
- Konferenzsysteme
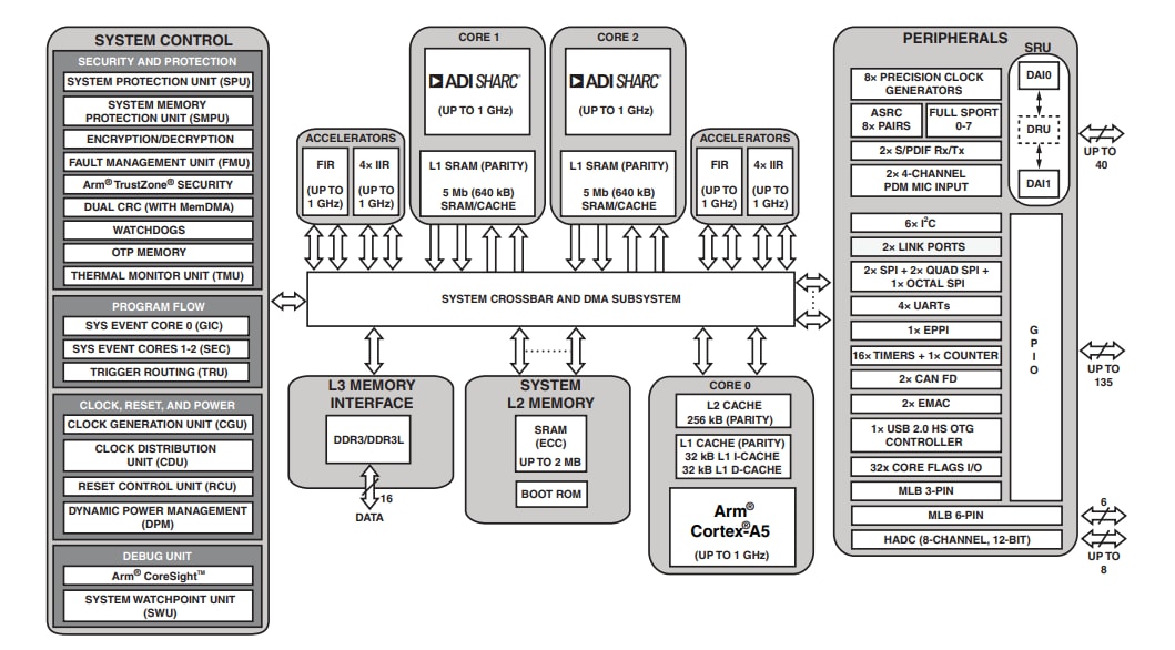
Blockdiagramm des Prozessormodells mit vollem Funktionsumfang
Blockdiagramm des Arm Cortex-A5-Prozessors
Blockdiagramm des SHARC-Prozessors
Veröffentlichungsdatum: 2022-02-07
| Aktualisiert: 2025-10-01
