Analog Devices Inc. ADRF5144 Reflektierende Schalter

ADRF5144 Reflektierende Schalter von Analog Devices sind SPDT-Schalter (Single-Pole Double-Throw), die im Siliziumverfahren hergestellt werden. Der ADRF5144 unterstützt einen Betriebsbereich von 1 GHz bis 20 GHz mit einer typischen Einfügungsdämpfung von 0,8 dB und einer typischen Isolierung von 52 dB. Der ADRF5144 bietet eine HF-Eingangsleistung von 40 dBm Durchschnittsleistung und 44 dBm Spitzenleistung für den Einfügungsdämpfungspfad.

Der ADRF5144 von ADI zieht einen geringen Strom von 130 μA bei einer positiven Versorgung von +3,3 V und 510 μA bei einer negativen Versorgung von -3,3 V. Das Bauteil nutzt komplementäre Metalloxid-Halbleiter (CMOS) -/Niederspannungs-Transistor-zu-Transistor-Logik-(LVTTL-)kompatible Steuerungen Der ADRF5144 benötigt keine zusätzliche Treiberschaltung, was ihn zu einer exzellenten Alternative zu GaN- und PIN-Dioden-basierten Schaltern macht.

Der ADRF5144 kann auch mit einer einzelnen positiven Versorgungsspannung (VDD) betrieben werden, während die negative Versorgungsspannung (VSS) mit Masse verbunden ist. Die Kleinsignalleistung wird in diesem Betriebszustand aufrechterhalten, während die Schalteigenschaften, Linearität und Strombelastbarkeit herabgesetzt werden.

Der ADRF5144 ist in einem RoHS-konformen, 3,0 mm × 3,0 mm großen, 20-poligen LGA-Gehäuse (Land-Grid-Array) erhältlich und wird zwischen -40 °C und +85 °C betrieben.

Merkmale

  • Breitband-Frequenzbereich: 1 GHz bis 20 GHz
  • Keine Niederfrequenzstörung
  • Hohe Belastbarkeit bei TCASE = +85 °C:
    • Einfügungsdämpfungspfad:
      • 40 dBm Durchschnitt
      • Gepulst (>100 ns Pulsbreite, 15 % Tastverhältnis): 43 dBm
      • Spitzenwert (≤100 ns Spitzendauer, 5 % Tastverhältnis): 44dBm
    • Hot-Switching: 37 dBm
  • 0,8 dB typ. bei geringer Einfügungsdämpfung von 20 GHz
  • 52 dB typ. bei hoher Isolierung von 20GHz
  • Hohe Eingangslinearität:
    • 0,1 dB Leistungskompression (P0, 1 dB) bei 44 dBm
    • Schnittpunkt der dritten Ordnung (IP3) von >70 dBm
    • Schnittpunkt zweiter Ordnung (IP2) von 120 dBm
  • 0,1 dB HF-Einschwingzeit mit PIN 37 dBm von 750 ns
  • Positive Steuerungsschnittstelle, CMOS/LVTTL-kompatibel
  • 3,0 mm × 3,0 mm großes, 20-poliges LGA-Gehäuse
  • Pin-kompatibel mit ADRF5141

Applikationen

  • Militärfunkgeräte, Radargeräte und elektronische Gegenmaßnahmen
  • Satcom
  • Test-Messgeräte
  • GaN- und PIN-Dioden-Ersatz

Videos

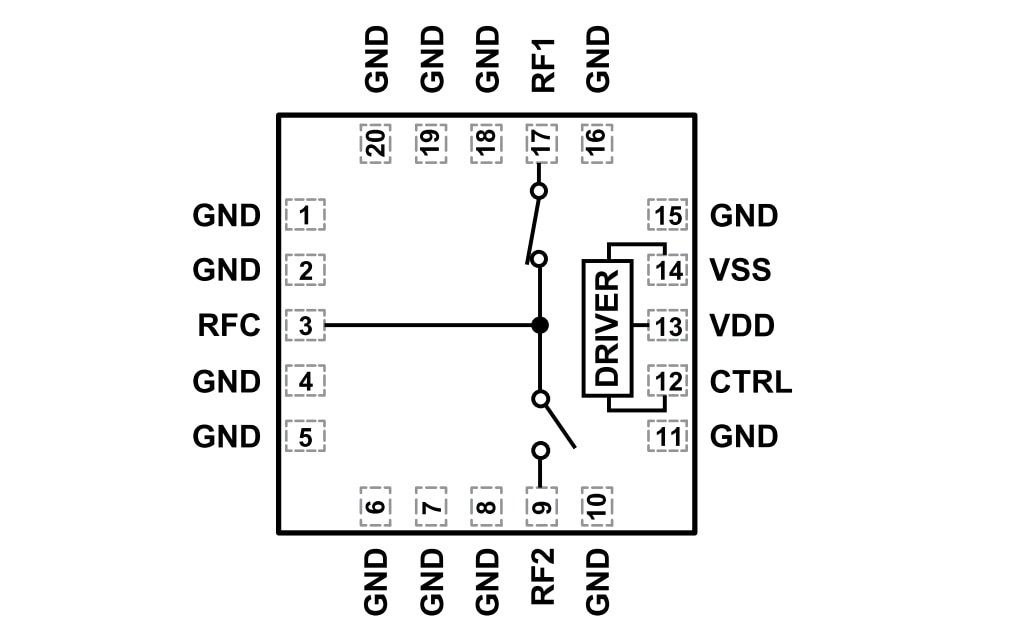
Blockdiagramm

Blockdiagramm - Analog Devices Inc. ADRF5144 Reflektierende Schalter
Veröffentlichungsdatum: 2023-12-18 | Aktualisiert: 2024-07-29