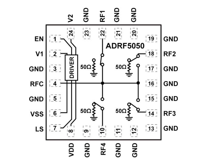
Analog Devices Inc. ADRF5050 Reflektionsfreie Silizum-SP4T-Schalter
Analog Devices Inc. ADRF5050 Reflektionsfreie Silizium-SP4T-Schalter implementieren ein SOI-Verfahren (Silicon-on-Insulator, SOI). Die Leistung des Geräts von 100 MHz bis 20 GHz ist bei Einführung geringer als 1,20 dB und bei Isolierung höher als 47 dB. Der ADRF5050 verfügt über eine HF- Fähigkeit von 33 dBm für Durchgangspfade.Die nicht reflektierenden Silizium -SP4T- Schalter ADI ADRF5050 verfügen über einen +3,3 V und -3,3 V Betrieb mit doppelter Versorgungsspannung. Darüber hinaus arbeitet das Gerät mit einer einzigen positiven Versorgungsspannung (VDD), während der negative Versorgungsstift (VSS) mit Masse verbunden ist.
Der ADRF5050 verwendet kompatible Steuerungen mit komplementärer Metalloxid-Halbleiter- (CMOS) und Niederspannungs-Transistor-zu-Transistor-Logikschaltung (LVTTL). Das Gerät verfügt über Aktivierungs- und Logik-Auswahlsteuerungen, um alle Aus-Zustände und Port-Spiegelungen zu ermöglichen.
Der ADRF5050 ist Pin-kompatibel mit dem ADRF5042 und ADRF5043 und ist in einem 24-poligen, 3 mm × 3 mm RoHs-konformen LGA-Gehäuse (Land Grid Array) erhältlich und funktioniert von -40 °C bis +105 °C.
Merkmale
- Ultrabreitband-Frequenzbereich von 100 MHz bis 20 GHz
- Nichtreflektierendes 50-Ω-Design
- Geringe Einfügungsdämpfung
- 0,9 dB typisch bis 6 GHz
- 1,00 dB typisch bis 12 GHz
- 1,20 dB typisch bis 20 GHz
- Hohe Isolierung zwischen RFx und RFx
- 54 dB typisch bis 6 GHz
- 50 dB typisch bis 12 GHz
- 47 dB typisch bis 20 GHz
- Hohe HF-Leistungsbelastbarkeit
- Durchgängiger Pfad von 33 dBm bis 20 GHz
- Terminierter Pfad von 18 dBm bis 20 GHz
- Hohe Eingangslinearität
- P0.1dB von 34 dBm (typisch)
- IP3 von 55 dBm (typisch)
- Ein-/Ausschaltzeit von 55 ns
- 0,1 dB Einschwingzeit (50 % VCTRL bis 0,1 dB final HFOUT) von 80 ns
- Alle Aus-Zustand-Steuerung
- Logik-Auswahlsteuerung
- Einzelversorgungsbetrieb mit reduzierter Leistungsaufnahme
- Keine Niederfrequenzstörungen
- Land-Grid-Array-Gehäuse (LGA) mit 24 Anschlüssen von 3 mm x 3 mm
- Pin-kompatibel mit dem ADRF5042 und ADRF5043
Applikationen
- Prüf- und Messgeräte
- Militärfunkgeräte, Radar und elektronische Gegenmaßnahmen (ECMs)
- Mikrowellenfunkgeräte und Very Small Aperture Terminals (VSATs)
Funktionales Blockdiagramm
