Analog Devices Inc. ADM286xE Isolierte RS-485-Transceiver
Analog Devices ADM286xE Isolierte RS-485-Transceiver sind signal- und leistungsisolierte RS-485-Transceiver mit 5,7 kVRMS. Die Bauteile bestehen eine Prüfung für abgestrahlte Emissionen gemäß EN55032 Klasse B-Standard mit einer Marge auf einer 2-lagigen Leiterplatte (PCB), die zwei kleine externe 0402-Ferrite auf isolierten Leistungs- und Erdungs-Pins verwendet. Diese Bauteile verfügen über einen integrierten, isolierten DC/DC-Wandler mit geringer elektromagnetischer Störung (EMI), der die Notwendigkeit einer externen isolierten Stromversorgung beseitigt. Die Isolationsbarriere bietet Immunität gegenüber den Normen für elektromagnetische Verträglichkeit (EMC) auf Systemebene. Die Isolator-Familie bietet einen ESD-Schutz von ±12kV bei Kontakt und ±15kV bei Luft nach IEC61000-4-2 an den RS-485 Pins A, B, Y und Z. Diese Bauteile verfügen außerdem über Kabelinvertierungspins, die es dem Benutzer ermöglichen, vertauschte Kabelanschlüsse an den A-, B-, Y- und Z-Bus-Pins schnell zu korrigieren, während die volle Ausfallsicherheit des Empfängers erhalten bleibt.Es sind Versionen mit begrenzter Anstiegsrate erhältlich, die für niedrige Geschwindigkeiten über lange Kabelstrecken optimiert sind und eine maximale Datenrate von 500 kbps haben. Halbduplex- und Vollduplex-Ausführungen sind verfügbar. Die Vollduplex-Generika ermöglichen eine unabhängige Kabelumkehrung von Treiber und Empfänger für zusätzliche Flexibilität.
Merkmale
- 5.7kVRMS isolierter RS-485/RS-422 Einschwinger-Prüfkopf
- Geringe Strahlungsemissionen, integrierter, isolierter DC/DC-Wechselrichter
- Erfüllt die Anforderungen gemäß EN55032 Klasse B mit Marge auf einer 2-lagigen PCB
- Korrektur einer vertauschten Kabelverbindung auf den A-, B-, Y- und Z-Bus-Pins, während gleichzeitig eine vollständige Ausfallsicherheit des Empfängers aufrechterhalten wird
- ESD-Schutz auf RS-485-A-, B-, Y- und Z-Pins
- Kontaktentladung: ≥ ±12 kV gemäß IEC61000-4-2
- Luftentladung: ≥ ±15 kV gemäß IEC61000-4-2
- Hochgeschwindigkeits-Datenrate von 25 MBit/s (ADM2865E/ADM2867E)
- Niedriggeschwindigkeits-Datenrate von 500 kBit/s für EMI-Steuerung (ADM2861E/ADM2863E)
- Flexible Stromversorgung
- Eingang VCC Versorgung von 3 V bis 5,5 V
- Logikschaltung VIO Versorgung von 1,7 V bis 5,5 V
- VSEL zur Auswahl der VISO -Versorgung von 5 V (VCC bis 4,5 V) oder 3,3 V
- PROFIBUS-konform für 5 V VISO
- Weiter Betriebstemperaturbereich von -40 °C bis +105 °C
- Hohe Gleichtakt-Transientenimmunität: 250 kV/μs
- Ausfallsicherer Kurzschluss-, Leerlauf- und potentialfreier Eingangsempfänger
- Unterstützt 196 Bus-Knoten (72 kΩ Empfänger-Eingangsimpedanz)
- Vollständige Hot-Swap-Unterstützung (störungsfreies Ein-/Ausschalten)
- CSA Component Acceptance Notice 5A, DIN V VDE V 0884-11, UL 1577, CQC11-471543-2012, IEC 61010-1
- 28-poliges Fine-Pitch-SOIC_W-Gehäuse (10,15 mm × 10,05 mm) mit > 8,0 mm Kriech- und Luftstrecke
Applikationen
- Netzwerke für Heizungs-, Lüftungs- und Klimatechnik (HLK)
- Industrielle Feldbusse
- Gebäudeautomatisierung
- Versorgungsnetzwerke
- Stromzähler
Videos
ADM2861E/ADM2865E Blockdiagramm
ADM2863E/ADM2867E Blockdiagramm
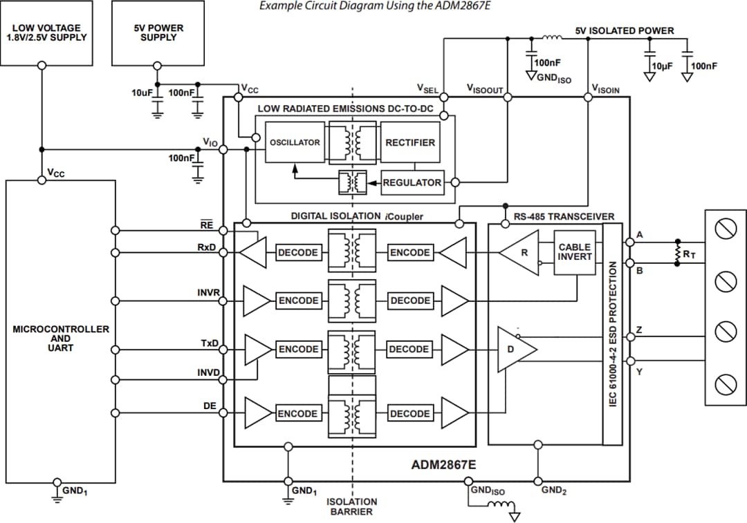
Typische Applikations-Schaltung
Veröffentlichungsdatum: 2020-06-08
| Aktualisiert: 2025-03-04
