Analog Devices Inc. ADL8108 Rauscharme Verstärker
Analog Devices Inc. ADL8108 Low Noise Amplifiers sind vielseitige rauscharme Verstärker, die für einen Frequenzbereich von 1 GHz bis 8 GHz entwickelt wurden. Diese Verstärker verfügen über einen integrierten Temperatursensor und einen Power-Down-Control-Pin, wodurch das Gerät ideal für energieeffiziente Anwendungen ist. Die ADL8108 Verstärker bieten eine robuste Eingangs- und Ausgangsanpassung mit einer Impedanz von 50Ω. Diese Verstärker sind in einem kompakten 16-poligen LFCSP-Gehäuse untergebracht, das auf thermische Effizienz und zuverlässige Leistung in Hochfrequenzumgebungen ausgelegt ist. Die ADL8108 Verstärker werden in der Telekommunikation, der Testinstrumentierung und im Militär eingesetzt.Merkmale
- 5 V einzelne positive Versorgung und IDQ von 90 mA nominal
- RBIAS Drainstrom-Einstellstift
- Integrierter Temperatursensor
- Integrierte Aktivierungs- und Deaktivierungsfunktion
- 20 dB Gewinn typischerweise von 3 GHz bis 4,5 GHz
- 35,5 dBm OIP3 typisch von 1 GHz bis 4,5 GHz
- 1 dB Rauschzahl typisch von 3 GHz bis 6 GHz
- -55 °C bis 125 °C erweiterter Betriebstemperaturbereich
- RoHS-konformes, 3 mm x 3 mm, und 16-lead LFCSP-Gehäuse
Applikationen
- Telekommunikation
- Test-Instrumentierung
- Militärwesen
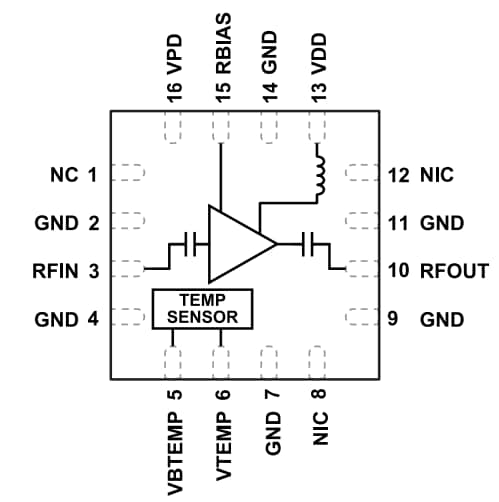
Blockdiagramm
Veröffentlichungsdatum: 2025-01-27
| Aktualisiert: 2025-02-25
