Analog Devices Inc. ADIN1300 10/100/1000-Gigabit-Ethernet-PHY
Der ADIN1300 10/100/1000-Gigabit-Ethernet-PHY von Analog Devices ist ein stromsparender Gigabit-Ethernet-Transceiver mit Einzelanschluss und branchenführenden Latenzspezifikationen, der hauptsächlich für Industrie-Ethernet-Applikationen ausgelegt ist. Dieses Design enthält einen energieeffizienten Ethernet-PHY-Core, die dazugehörige analoge Schaltung, Eingangs- und Ausgangstaktbuffer, die Verwaltungsschnittstelle und Subsystemregister. Der ADIN1300 10/100/1000 von Analog Devices enthält auch die MAC-Schnittstelle und Steuerlogikschaltung zur Verwaltung der Reset- und Taktsteuerung sowie der Pin-Konfiguration.Merkmale
- 10BASE-Te/100BASE-TX/1000BASE-T IEEE® 802.3TM-konforme MII-, RMII- und RGMII-MAC-Schnittstellen
- 1000BASE-T RGMII Latenz TX <68 ns, RX <226 ns
- 100BASE-TX MII Latenz TX <52 ns, RX <248 ns
- EMV-Prüfstandards
- Überspannungsschutz gemäß IEC 61000-4-5 (±4 kV)
- Schnelle elektrische Transienten (EFT) (±4 kV) gemäß IEC 61000-4-4
- IEC 61000-4-2 ESD (± 6kV Kontaktentladung)
- Leitungsgebundene Störfestigkeit (10 V) gemäß IEC 61000-4-6
- EN55022 ausgestrahlte Emissionen (KLASSE A)
- EN55022 leitungsgebundene Emissionen (KLASSE B)
- Nicht verwaltete Konfiguration mittels Pinumreifung auf mehreren Ebenen
- Energieeffizientes Ethernet (EEE) in Übereinstimmung mit IEEE 802.3az
- Unterstützung der Start of Frame-Erkennung für IEEE1588 Zeitstempel
- Verbesserte Linkerkennung
- Konfigurierbare LED
- Quarzoszillator/25 MHz Taktgebereingang (50 MHz für RMII)
- 25 MHz/125 MHz synchroner Taktgeberausgang
- Kleines Gehäuse und großer Temperaturbereich
- 40-facher (6 mm x 6 mm) LFCSP
- Ausgelegt für den Betrieb bei −40 °C bis +105 °C Umgebungstemperatur
- Geringer Stromverbrauch
- 330 mW - 1000BASE-T
- 140 mW - 100BASE-TX
- 3,3 V/2,5 V/1,8 V MAC-Schnittstelle VDDIO-Versorgung
- Integrierte Energieversorgungsüberwachung und POR
Applikationen
- Industrieautomatisierung
- Prozesssteuerung
- Fabrikautomatisierung
- Robotik/Bewegungssteuerung
- Gebäudeautomation
- Prüf- und Messsysteme
- Industrielles IoT
Videos
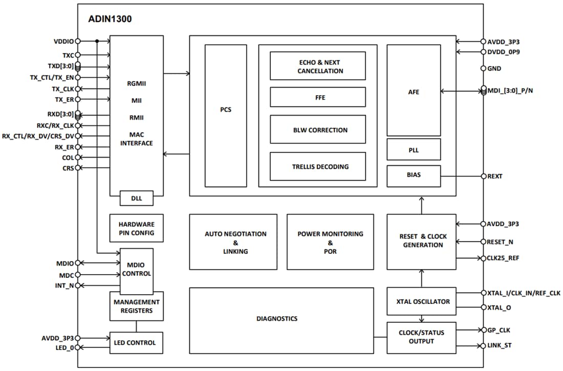
Funktionales Blockdiagramm
Weitere Ressourcen
Fünf Möglichkeiten, wie IEEE-Standards Industrie 4.0 voranbringen werden
TSN (Time-Sensitive Networking), ein Satz von IEEE-Ethernet-Standards, ist grundlegend für die vielen leistungsstarken Ergebnisse von Industry 4.0. Mit TSN können alle Daten im Werk, von der Fabrikhalle bis zum Server, Frontoffice und überall dazwischen, koexistieren und kommuniziert werden. Entdecken Sie 5 Möglichkeiten, bei denen TSN entscheidend ist.
Mehr erfahren
Robuste Ethernet-Physical-Layer-Lösungen für zeitkritische Kommunikationen in rauen Industrieumgebungen
Eine nahtlose Konnektivität von IT- und OT-Netzwerken und die Nutzung des vollen Potenzials von Industrie 4.0 sowie eine verbesserte Physical-Layer-Technologie, die für Industrieapplikationen ausgelegt ist, stellen eine wichtige Designoption dar. Die robuste Industrie-Ethernet-PHYs-Technologie, welche die Herausforderungen von Leistung, Latenz, Lösungsgröße, 105 °C Umgebungstemperatur, Robustheit (EMV/ESD) und langer Produktlebensdauer löst, ist die Grundlage der vernetzten Fabrik.
Mehr erfahren
Beschleunigen Sie Ihren Übergang zu Industry 4.0
Im Zentrum der Vision für Industrie 4.0 ist die Fähigkeit, Prozesse mit vernetzten Geräten zu automatisieren, die Daten sammeln, senden und empfangen können. Beschleunigen Sie den Übergang zur Smart-Fabrik von morgen mit Industrie-Ethernet-Lösungen von ADI.
Mehr erfahren
Timing-Herausforderungen in mehrachsigen Robotik- und Werkzeugmaschinen-Applikationen
In leistungsstarken, mehrachsigen, synchronisierten Bewegungsapplikationen sind die Anforderungen von Steuerzeitabläufen präzise, deterministisch und zeitkritisch. Entdecken Sie, wie die Gesamtlatenz minimiert werden kann, insbesondere wenn die Regelzykluszeiten kürzer werden und die Komplexität des Regelalgorithmus steigt.
Mehr erfahren
Liefert ein nahtloses Ethernet für das Feld mit 10BASE-T1L-Konnektivität
10BASE-T1L wird die Prozessautomatisierungsindustrie durch eine deutliche Verbesserung der Betriebseffizienz der Anlage durch eine nahtlose Ethernet-Konnektivität zu Geräten auf Feldebene (Sensoren und Aktoren) weitreichend verändern.
Mehr erfahren
Ethernet-APL: Optimierung der Prozessautomatisierung mit umsetzbaren Erkenntnissen
Das Ethernet-APL wird die Welt der Prozessautomatisierung verändern, indem eine nahtlose Ethernet-Konnektivität mit hoher Bandbreite zu Feldgeräten ermöglicht wird. Dies löst die Herausforderungen, die bisher die Nutzung des Ethernets im Feld beschränkt haben.
Mehr erfahren
