Analog Devices Inc. ADG2412 Schalter-IC
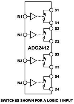
Der Analog Devices Inc. Der ADG2412 Schalter-IC besteht aus vier unabhängigen Single-Pole/Single-Throw (SPST) Schaltern. Dieser IC enthält auch N-Kanal-Diffusions-Metalloxid-Halbleiter-Schalter (NDMOS), die eine hervorragende RON-Leistung ermöglichen. Der Schalter-IC schaltet sich mit Logik an den digitalen Steuereingängen ein. Jeder Schalter leitet in beide Richtungen gleich gut, wenn er eingeschaltet ist, und verfügt über einen Eingangssignalbereich, der von VSS bis VDD -2V Analogsignalbereich reicht. Der ADG2412 IC zeichnet sich durch einen hohen Dauerstrom von bis zu 847 mA, einen flachen RON von 0,003 Ω über den gesamten Signalbereich und eine logische Kompatibilität mit 1,8 V, 3,3 V und 5 V aus. Typische Anwendungen sind Datenerfassung, automatische Prüfgeräte, Avionik, Instrumentierung, Relaisersatz, Kommunikationssysteme sowie Audio- und Videoschaltungen.Merkmale
- Hoher Dauerstrom von bis zu 847 mA
- 0,003 Ω flacher RON über Signalbereich
- –122 dB Klirrfaktor (THD) bei 1 kHz
- Verbessertes Gleichgewicht zwischen On-Widerstand und On-Kapazität:
- Niedriger RON (0,5 Ω) und CON (28 pF)
- 1,8 V, 3,3 V und 5 V Logik-Kompatibilität
- 16-poliges 4 mm x 4 mm LFCSP
- Pin-zu-Pin-kompatibel mit dem ADG1412
- Vollständig spezifiziert bei ±15 V, +12 V, ±5 V, +5 V und –12 V
- Betriebsfähig mit asymmetrischen Netzteilen
- VSS bis VDD – 2 V analoger Signalbereich
- Betriebstemperaturbereich: -40 °C bis +125 °C
Applikationen
- Automatische Testsysteme
- Datenerfassung
- Messgeräte
- Luftfahrt
- Audio- und Videoschaltung
- Kommunikationssysteme
- Ersatz für Relais
Funktionales Blockdiagramm
Maßbild
Veröffentlichungsdatum: 2023-02-14
| Aktualisiert: 2023-04-03
