Analog Devices ADF4169 Fractional-N-Frequenzsynthesizer

Analog Devices ADF4169 Fractional-N-
Frequenzsynthesizer

Der Analog Devices ADF4169 Fractional-N-Frequenzsynthesizer wird als 13,5GHz Synthesizer mit Modulation angeboten. Der ADF4169 bietet eine langsame und schnelle Wellenform-Generierungsfunktion. Das Gerät verfügt über einen festgelegten 25-Bit-Modulus. Dieser Modulus ermöglicht eine Subhertz-Frequenzauflösung.

Der ADF4169 Synthesizer enthält einen programmierbaren Referenzteiler, geräuscharmen digitalen Phasenfrequenzdetektor (PFD) und eine Präzisionsladungspumpe. Ein ∑-Δ-basierter fraktionaler Interpolator ermöglicht eine programmierbare fraktionale N-Teilung. Die INT- und FRAC-Register des Synthesizers definieren einen gesamten N-Teiler als N = INT + (FRAC/225). Eine einfache dreiadrige Schnittstelle steuert alle On-Chip-Register.

Entwickler können den ADF4169 Synthesizer zur Integration von Frequenzumtastung (FSK) und Phasenumtastung (PSK) einsetzen. Zusätzlich sind Frequenzsweep-Modi für verschiedene Wellenformen im Frequenzbereich verfügbar. Entwickler können Sweeps so einstellen, dass sie automatisch laufen oder bei jedem Schritt durch einen externen Impuls manuell ausgelöst werden.

Die Konstruktion enthält außerdem einen Schaltkreis zur Reduzierung von Cycle Slips, um schnellere Rastzeiten zu ermöglichen, ohne dass der Schleifenfilter geändert werden muss.

Der ADF4169 arbeitet mit einer 2,7V bis 3,45V analogen und einer 1,8V bis 2,0V digitalen Stromversorgung. Bei Nichtbenutzung kann der ADF4169 Synthesizer abgeschaltet werden.

Merkmale
  • HF-Bandbreite bis 13,5GHz
  • FMCW-Rampengenerierung mit hohen und niedrigen Geschwindigkeiten
  • Festgelegter 25-Bit-Modulus ermöglicht eine Subhertz-Frequenzauflösung
  • PFD-Frequenzen bis 130MHz
  • Normiertes PLL-Rauschen von -224dBc/Hz
  • FSK- und PSK-Funktionen
  • Sägezahn- und Dreiecks-Wellenform-Generierung
  • Rampe mit FSK überlagert
  • Rampe mit 2 verschiedenen Sweep-Geschwindigkeiten
  • Rampenverzögerung, Frequenz-Rücklesbarkeit und Unterbrechungsfunktionen
  • Programmierbare Phasensteuerung

  • 2,7V bis 3,45V analoge Stromversorgung
  • 1,8V bis 2V digitale Stromversorgung
  • Programmierbarer Ladepumpenstrom
  • Serielle Dreiadrig-Schnittstelle
  • Digitale Blockieranzeige
  • ESD-Leistung: 3000V HBM, 1000V CDM
  • Qualifiziert für Anwendungen der Automobilindustrie

Anwendungsbereiche
  • FMCW-Radargeräte
  • Kommunikationstestgeräte
  • Telekommunikationsinfrastruktur
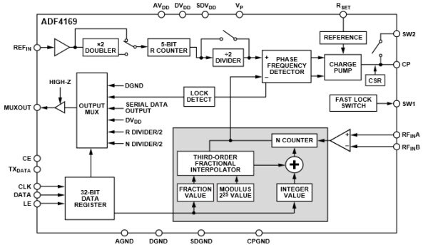
Funktionsblockdiagramm
Funktionsblockdiagramm

eNews
  • Analog Devices Inc.
Veröffentlichungsdatum: 2015-09-29 | Aktualisiert: 2022-03-11