Analog Devices Inc. ADE9430 Leistungsqualitäts-Überwachungs-ICs

Der Analog Devices Inc. ADE9430 Netzqualitätsüberwachungs-IC ist ein vollständig integriertes Mehrphasen-Energie- und Netzqualitätsüberwachungsbauteil mit hoher Genauigkeit. Der ADE9430 verfügt über eine hervorragende analoge Leistung und einen digitalen Signalverarbeitungs-Core (DSP), der eine genaue Energieüberwachung über einen großen Dynamikbereich ermöglicht. Eine integrierte High-End-Referenz sorgt für eine geringe Drift über Temperatur mit einer maximalen kombinierten Drift von weniger als ±25 ppm/°C für den gesamten Kanal. Dazu gehören ein Verstärker mit programmierbarer Gain (PGA) und ein Analog-Digital-Wandler (ADC).

Der ADE9430 vereinfacht die Implementierung und Zertifizierung von Systemen für die Energie- und Netzqualitätsüberwachung durch eine enge Integration von Erfassungs- und Berechnungs-Engines. Die integrierten ADCs und die DSP-Engine berechnen verschiedene Parameter und liefern Daten über benutzerzugängliche Register oder zeigen Ereignisse über Interrupt-Pins an. Mit sieben dedizierten ADC-Kanälen kann der ADE9430 auf einem 3-Phasen-System oder bis zu drei Einphasen-Systemen verwendet werden. Dieses Bauteil unterstützt Stromwandler (CTs) oder Rogowski-Spulen, wenn es mit einem externen Analog-Integrator für Strommessungen verwendet wird.

Der ADE9430 Netzqualitätsüberwachungs-IC kann verwendet werden, um die Menge an Oberschwingungen zu bestimmen, die von Wechselrichter-basierten Ressourcen, einschließlich Solar-Photovoltaik, Energiespeicherlösungen (ESS) und bidirektionale EV-Ladegeräte in ein Netz eingespeist werden. Durch die Überwachung der Netzstörungen ermöglicht die Lösung bessere Diagnosefunktionen zur Optimierung verteilter Energiequellen, die hinzugefügt werden können, um ein zuverlässigeres sauberes Energienetz zu erreichen.

Der ADE9430 Netzqualitäts-Überwachungs-IC von Analog Devices Inc. ist in einem 40-Pin-Lead-Frame-Chip-Scale-Gehäuse untergebracht und ist RoHs-konform.

Merkmale

  • 7 leistungsstarke 24-Bit-Σ-Δ-ADCs
    • 101 dB SRV bei acht kS/s mit PGA = 1
    • Großer Eingangsspannungsbereich: ±1 V, Skalenendwert von 707 mV rms bei Gain = 1
    • Differentielle Eingänge
  • Maximaler Kanaldrift (einschließlich ADC, interne VREF, PGA-drift) von ±25 ppm/°C ermöglicht mit externen Standard-Bauelementen einen dynamischen Eingangsbereich von 10.000:1, Klasse 0.2 Metrologie.
  • Mit der optionalen ADSW-PQ-CLS Netzqualitätsbibliothek wird der vollständige Netzqualitätsstandard gemäß IEC 61000-4-30 Klasse S implementiert, einschließlich
    • Leistungsfrequenz 10-Sek.-Durchschnitt
    • Umfang der Versorgung
    • Einbrüche und Anschwellungen
    • Unterbrechungen
    • Schnelle Spannungsänderung
    • Flimmer
    • Netz-Signalspannung
    • Unter- und Überabweichung
    • Spannung und Strom
      • Umfang
      • Oberschwingungen
      • Zwischenharmonie
      • Unausgeglichenheit
      • THD
      • Wellenformaufzeichnung
  • Optionale ADSW-PQ-CLS Leistungsqualitäts-Bibliothek, die mit ARM® Cortex-Mikrocontrollern kompatibel ist
  • VRMS-Einzyklus und IRMS-Einzyklus aktualisiert jeden Zyklus
  • VRMS und IRMS werden für jede Probe gefiltert und aktualisiert
  • 10 Zyklen rms/12 Zyklen rms
  • Zeitraumregister zur Berechnung der Leitungsfrequenz, einen pro Phase
  • Nulldurchgang und Nulldurchgangs-Timeout
  • Phasenwinkelmessungen
  • Unterstützt CTs
  • Mehrpunkt-Phasen- und Gain-Kompensationen für CTs
  • Rogowski-Spulen mit dem Hinzufügen eines externen Analogintegrators
  • Ununterbrochene Neuberechnung der Daten verfügbar
  • Wellenform-Buffer
  • Erweiterter Funktionssatz für die Messtechnik
    • Gesamte und grundlegende Wirkleistung, Volt-Ampere reaktiv (VAR), Volt-Ampere (VA), Watt-Stunde, VAR-Stunde und VA-Stunde
    • Gesamte und grundlegende IRMS und VRMS
    • Leistungsfaktor
    • Unterstützt die aktiven Energiestandards: IEC 62053-21, IEC 62053-22, EN50470-3, OIML R46 und ANSI C12.20
    • Unterstützt reaktive Energiestandards: IEC 62053-23 und IEC 62053-24
  • Hochgeschwindigkeits-Kommunikationsanschluss von 20 MHz SPI
  • Integrierter Temperatursensor mit 12-Bit-ADC mit sukzessivem Approximation-Register (SAR)
  • ±3 °C Genauigkeit von -40 °C bis 85 °C
  • LFCSP-40-Gehäuse mit EPAD von 6 mm x 6mm x 0,75 mm

Applikationen

  • Strom- und Energieüberwachung
  • Standardkonforme Leistungsqualitätsüberwachung
  • Schutzvorrichtungen
  • Maschinenzustand
  • Intelligente Stromverteilungsgeräte
  • Mehrphasige Energiemessgeräte

Videos

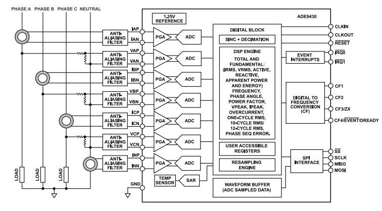
Blockdiagramm

Blockdiagramm - Analog Devices Inc. ADE9430 Leistungsqualitäts-Überwachungs-ICs
Veröffentlichungsdatum: 2022-10-25 | Aktualisiert: 2025-01-29