Analog Devices Inc. AD9083 Analog-Digital- Wechselrichter
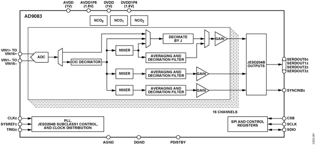
Analog Devices Inc. Der AD9083 Analog-Digital-Wechselrichter ist ein 16-Kanal, 125MHz Bandbreite, zeitkontinuierlicher Σ - Δ (CTSD) ADC. Der AD9083 verfügt über einen programmierbaren, einpoligen Antialiasing-Filter und einen Endenabschluss-Widerstand auf dem Chip. Es ist auf geringe Leistung, geringe Größe und einfache Handhabung ausgelegt. Die 16® ADC-Cores verfügen über eine Erstauftrags, CTSD Modulator-Architektur mit einer integrierten Hintergrund Nichtlinearitätskorrigierbaren Logikschaltung, sowie selbst-unterdrückenden Schwankungen. Jede ADC verfügt über einen breiten, Bandbreite,die eine Vielzahl von dem Benutzer wählbaren Eingangs-Bereichen unterstützt. Eine integrierte Spannungsreferenz erleichtert Design-Überlegungen.Merkmale
- 1,0 V und 1,8 V Versorgungsbetrieb
- 125 MHz nutzbare analoge Eingangs-Bandbreite
- Abtastrate von bis zu 2 GS/s
- Spektrale Rauschstörungs-Dichte in einer 100 MHz Bandbreite = -145 dBFS/Hz, 2,0 GSPS-Kodierung
- SRV = 66 dBFS in 100 MHz Bandbreite 2,0 GSPS-Kodierung
- SRV = 82 dBFS in 15,625 MHz Bandbreite, 2,0 GSPS-Kodierung
- SFDR = 60 dBc in 100 MHz Bandbreite, 2,0 GSPS-Kodierung
- SFDR = 80dBc in 15,625 MHz Bandbreite, 2,0 GSPS-Kodierung
- Groß-Signal Schwankungen
- 90mW Gesamtleistung pro Kanal bei 2,0 GSPS (Standardeinstellungen), 35 mW Leistung pro Kanal (min.)
- 0,5 V p-p bis 2 V p-p flexibler differentieller Eingabebereich
- 90 dB-Kanal, Nebensignaleffekt 2,0 GSPS-Kodierung
- Digitaler Prozessor
- CIC Dezimierungs-Filter
- Programmierbarer DDC
- Datentakt
- JESD204B Unterklasse 1 kodierte Ausgänge
- Unterstützt bis zu 16Gbps/ Spur
- Flexible Musterdatenverarbeitung
- Flexible JESD204B Spurkonfigurationen
- Serielle Anschluss-Steuerung
Applikationen
- Millimeterwellen-Bildgebung
- Elektronische Strahlformung und Arrays phasenweise
- Mehrkanal Breitband-Empfänger
- Elektronische Unterstützungsmaßnahmen
Blockdiagramm
Verbesserte Millimeterwellen-Scanner der nächsten Generation mit Edge Technologie-Verarbeitung
Erfahren Sie, wie die mmWellen-Technologie herkömmliche Metalldetektoren übertrifft und wie ein Chipsatz mit effizienter Datenverwaltung durch die Edge-Verarbeitung, die Entwicklung fortschrittlicher Walkthrough-Sicherheits-Scanningsysteme ermöglicht.
Veröffentlichungsdatum: 2021-01-27
| Aktualisiert: 2023-04-17
