Analog Devices Inc. AD7779 Simultan abtastender 24-Bit-ADC
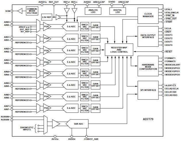
Der AD7779 von Analog Devices ist ein simultan abtastender, 24-Bit 8-Kanal-ADC, der dafür ausgelegt ist, ein schnelles Einschalten von Leistungsschutzschaltern in intelligenten Stromnetzsystemen zu gewährleisten. Das Gerät verfügt über acht vollständige Sigma-Delta-(Σ-Δ)-ADCs auf dem Chip. Die acht simultan abtastenden Kanäle messen die Ausgabe von Strom- und Spannungs-Sensoren in Dreiphase-Stromapplikationen. Jeder Eingangskanal umfasst eine programmierbare Verstärkungsstufe, die 1, 2, 4 und 8 Verstärkungen ermöglicht, um Sensorausgänge mit niedrigerer Amplitude im ADC-Eingangsbereich bei Vollausschlag zuzuweisen. Dieses Design steigert den Dynamikbereich der Signalkette. Die AD7779 ADC erreicht bei 8 kSPS einen dynamischen Bereich von 112 dB und ermöglicht die Konsolidierung von Schutz- und Messfunktionen auf einem einzelnen ADC-Kanal. Darüber hinaus enthält der AD7779 ADC einen programmierbaren Verstärker (PGA), um verschiedene Sensorausgänge abzutasten. Ein Abtastratenwandler (SRC) bietet eine Abtastrate mit einer Auflösung bis 15,25 µSPS. Der SRC fördert die Erhaltung der Kohärenz zu einer 0,01Hz Veränderung der Leitungsfrequenz über einen Bereich von 50Hz (-15%) auf 60Hz (+15%). Ein zusätzlicher SAR-ADC-Kanal mit niedriger Auflösung arbeitet von einer separaten Stromversorgung und liefert Daten für System- und Chip-Diagnosen.The AD7779 ADCs achieve a 112dB dynamic range at 8kSPS and enable the consolidation of protection and measurement functions on a single ADC channel. In addition, the AD7779 ADCs integrates a programmable gain amplifier (PGA) to scale various sensor outputs. A sample rate converter (SRC) offers a sampling rate of resolution up to 15.25µSPS. The SRC helps maintain coherency to a 0.01Hz change in line frequency over a 50Hz (-15%) to 60Hz (+15%) range. An additional low-resolution SAR ADC channel operates from a separate power supply and provides data for system and chip diagnostics.
Merkmale
- 8-channel, 24-bit simultaneous sampling analog-to-digital converter (ADC)
- Single-ended or true differential inputs
- Programmable gain amplifier (PGA) per channel (gains of 1, 2, 4, and 8)
- Low DC input current: ±4nA
- Up to 16kSPS output data rate (ODR) per channel
- Programmable ODRs and bandwidth
- Sample rate converter (SRC) for coherent sampling
- Sampling rate resolution up to 15.2μSPS
- Low latency sinc3 filter path
- Adjustable phase synchronization
- Internal 2.5V reference
- Two power modes
- High-resolution mode
- Low power mode
- Optimizes power dissipation and performance
- Low-resolution successive approximation (SAR) ADC for system and chip diagnostics
- Power supply
- Bipolar (±1.65V) or unipolar (3.3V) supplies
- Digital input/output (I/O) supply: 1.8V to 3.6V
- Performance temperature range: -40°C to +105°C
- Functional temperature range: -40°C to +125°C
Applikationen
- Circuit breakers
- General-purpose data acquisition
- Electroencephalography (EEG)
- Industrial process control
Technische Artikel
-
Newest Sigma-Delta ADC Architecture Averts Disrupted Data Flow
This article introduces the way distributed data acquisition systems have been traditionally synchronized for both SAR ADC-based systems and sigma-delta (∑-Δ) ADC-based systems and explores the differences among the two architectures. -
Why Is DC Energy Metering Important?
Driven by the development of efficient and economic power conversion technology based on wide bandgap semiconductors, such as GaN and SiC devices, many applications now see benefits in switching to DC energy exchange. As a consequence that, precision DC energy metering is becoming relevant, especially where energy billing is involved.
Functional Block Diagram
