Analog Devices Inc. AD5676/R Oktale 16-Bit nanoDACs

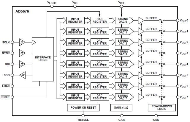
Die Analog Devices AD5676/R oktalen 16-Bit-nanoDACs sind Digital-Analog-Wandler mit geringem Stromverbrauch, die einen Verstärkungs-Auswahlkontakt enthalten, der einen Full-Scale-Ausgang von VREF (Verstärkung = 1) oder 2 x VREF (Verstärkung = 2) bietet. Das Gerät kann über eine einzelne 2,7V bis 5,5V Versorgung betrieben werden und ist durch die Konstruktion garantiert monoton. Die ADI AD5676/R nanoDACs sind in einem 20-Kontakt-TSSOP-Gehäuse erhältlich und umfassen eine Einschalt-Resetschaltung und einen RSTSEL-Kontakt, der sicherstellt, dass die DAC-Leistung bis zu einer Nullskala oder mittleren Skala ausgegeben und aufrechterhalten wird, bis ein gültiger Schreibvorgang ausgeführt wird. Die AD5676/R nanoDACs verfügen über einen Abschaltmodus, der den Stromverbrauch im Abschaltmodus auf typische 1μA reduziert. Die AD5676/R nanoDACs bieten einen Betriebstemperaturbereich von -40ºC bis 125ºC.

Merkmale

  • High performance
    • High relative accuracy (INL): ±3 LSB maximum at 16 bits
    • Total unadjusted error (TUE): ±0.14% of FSR maximum Offset error: ±1.5 mV maximum
    • Gain error: ±0.06% of FSR maximum
  • Wide operating ranges
    • -40°C to +125°C temperature range
    • 2.7V to 5.5V power supply
  • Easy implementation
    • User-selectable gain of 1 or 2 (GAIN pin)
    • 1.8V logic compatibility
  • 50MHz SPI with readback or daisy chain
  • Robust 2kV HBM and 1.5kV FICDM ESD rating
  • 20-lead, TSSOP RoHS-compliant package

Applikationen

  • Optical transceivers
  • Base station power amplifiers
  • Process control (PLC input/output cards)
  • Industrial automation
  • Data acquisition systems

Functional Block Diagrams

Analog Devices Inc. AD5676/R Oktale 16-Bit nanoDACs
Veröffentlichungsdatum: 2015-01-13 | Aktualisiert: 2024-03-28