Analog Devices Inc. AD4134 Vierkanal-Analog-Digital-Wandler
Die AD4134 Vierkanal-Präzisions-Analog-Digital-Wandler (ADC) von Analog Devices Inc. sind rauscharme, simultan abtastende Präzisions-ADCs, die einen großen Funktionsumfang, eine hohe Leistung und Benutzerfreundlichkeit bieten. Die AD4134 Vierkanal-ADCs von ADI basieren auf dem CTSD-Modulationsschema (Continuous-Time Sigma-Delta, CTSD). Der AD4134 ersetzt die traditionell erforderliche Schaltkondensator-Schaltabtastung vor dem Σ-Δ-Modulator, was zu einer Lockerung der Anforderungen an den ADC-Eingangsantrieb führt. Darüber hinaus weist die CTSD-Architektur Signale rund um das ADC-Aliasing-Frequenzband grundsätzlich zurück, wodurch das Bauteil seine inhärente Antialiasing-Funktion aufrechterhält und die Notwendigkeit für einen komplexen externen Anti-Aliasing-Filter überflüssig macht.Merkmale
- Alias-frei: Inhärente Antialias-Unterdrückung von 102,5 dB im Hochleistungsmodus (typisch)
- Hervorragende AC- und DC-Leistung
- Dynamischer Bereich von 108 dB bei ODR = 375 kS/s, FIR-Filter (typisch)
- Dynamikbereich von 137 dB bei ODR = 10 SPS, Sinc3-Filter (typisch)
- THD: -120 dB (typisch) mit Eingangs-Ton von 1 kHz
- Offset-Fehler-Drift: 0,9 µV/°C
- Gain-Drift: 2 ppm/°C (typisch)
- INL: ±2 ppm von FSR (typisch)
- Erweiterung des Dynamikbereichs im Durchschnittsmodus von 4:1 und 2:1
- A-gewichteter Dynamikbereich von 126 dB
- Resistiver ADC- und Referenzeingang
- Einfach zu synchronisieren: Asynchroner Abtastratenwandler
- Synchronisierung mehrerer Bauteile mit einer Signalleitung
- Programmierbare Datenraten von 0,01 kS/s bis 1.496 kS/s mit einer Auflösung von 0,01 SPS
- Option zur Steuerung der Ausgangsdatenrate über ein externes Signal
- Optionen für lineare digitale Phasenfilter
- FIR-Filter mit niedriger Welligkeit: 32 µdB Passbandwelligkeit, DC bis 161,942 kHz
- Sinc3-Filter und Sinc6-Filter mit niedriger Latenz, DC bis 391,5 kHz
- Sinc3-Filter mit Unterdrückung von 50 Hz/60 Hz
- Nebensignaleffekt: 130,7 dBFS
- Verkettung
- CRC-Fehlerüberprüfung auf der Daten- und SPI-Schnittstelle
- Zwei Leistungsmodi – Hochleistungs- und Stromsparmodus
- Stromversorgung: 4,5 V bis 5,5 V und 1,65 V bis 1,95 V
- IOVDD-Pegel: 1,8 V
- Externe Referenz: 4,096 V oder 5 V
- Quarz- oder externer CMOS-Taktgeber von 48 MHz
- SPI- oder Pin-konfigurierbarer Betrieb (eigenständig)
- Betriebstemperaturbereich: -40 °C bis +105 °C
- Erhältlich in einem 56-Pin-LFCSP-Gehäuse von 8 mm x 8 mm mit freiliegendem Pad
Applikationen
- Elektrische Prüfung und Messung
- Audio-Test
- 3-phasige Leistungsqualitätsanalyse
- Verifizierung von Steuerung und Hardware-in-Loop
- Sonars
- Zustandsüberwachung für prädiktive Instandhaltung
- Forschung und Entwicklung in den Bereichen Akustik und Werkstoffwissenschaften
Videos
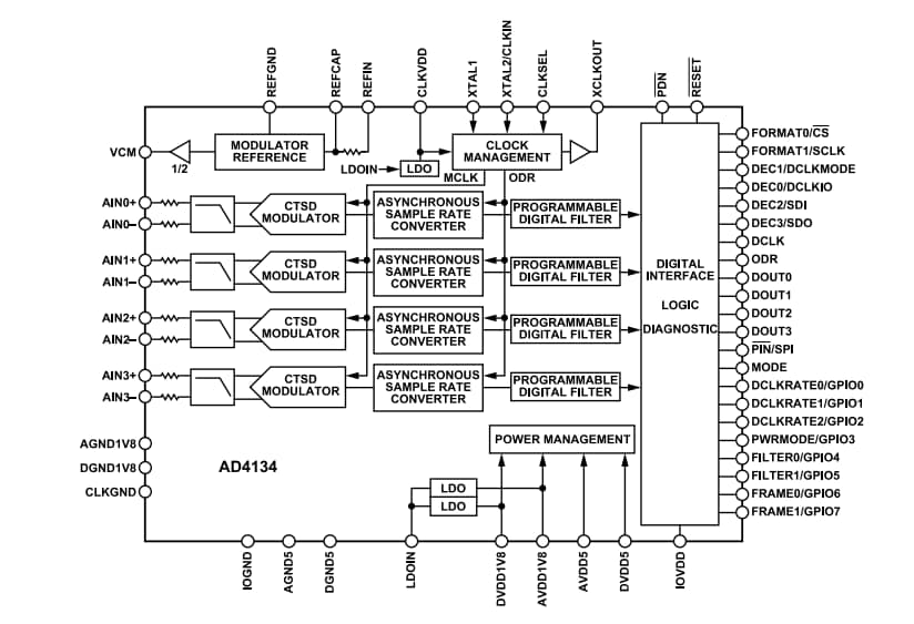
Blockdiagramm
Veröffentlichungsdatum: 2021-12-27
| Aktualisiert: 2025-07-31
