Analog Devices Inc. AD-GMSL522-SL GMSL Robotics Rapid Dev Plattform
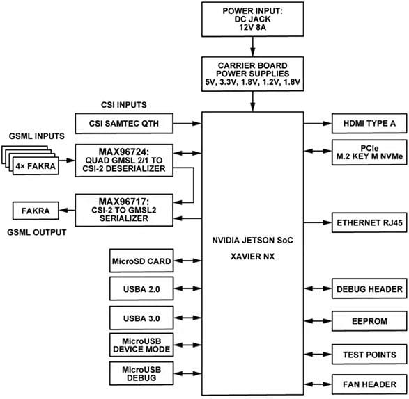
Analog Devices AD-GMSL522-SL GMSL Robotics Rapid Development Platform sind GMSL-fähige NVIDIA Jetson Xavier™ NX-basierte Trägerplatinen und Softwarelösungen, die eine einfache Kamera-zu-Display-Konvertierung ermöglichen. Diese Lösungen schaffen eine skalierbare, benutzerfreundliche GMSL Plattform für den Empfang und die Übermittlung von Daten. Die Plattformen ermöglichen Demonstrationen und die Entwicklung von Ökosystemen, indem sie als Hardwareplattform für die Softwareentwicklung dienen. Das Design beinhaltet den MAX96724GTN/VY+ Quad Tunneling GMSL2/1 to CSI-2 Deserializer und MAX96717GTJ/VY+ CSI-2 to GMSL2 Serializer und bietet eine zuverlässige Plattform zur Evaluierung der hohen Bandbreite GMSL. Diese Boards werden in Sensor-Fusion-Steuergeräten, Infotainment-Systemen und ADAS-Kameralösungen eingesetzt.Die Serie AD-GMSL522-SL von Analog Devices unterstützt zwei Formen der Kameraeingabe: direkte CSI-Daten über einen SAMTEC-Anschluss oder über Kameramodule mit GMSL2 oder GMSL1 Technologie, die über COAX-Anschlüsse mit dem Onboard MAX96724 verbunden sind. GMSL Evaluierungskits oder jede Kamera, die den standardmäßigen 15- oder 22-poligen Raspberry Pi-Anschluss verwendet, kann über die Adapterkarte AD-GMSLCAMRPI-SL angeschlossen werden.
Das AD-GMSL522-SL enthält Software-Tools, um die Entwicklung von GMSL-Applikationen zu ermöglichen. Diese Tools umfassen modifizierte L4T-Kerne, die bestimmte Kameramodule und Dokumentation unterstützen, die ermöglichen, diese Kerne für spezifische Hardwareanforderungen zu aktualisieren.
Merkmale
- Das GMSL2 Prototyping-System unterstützt die NVIDIA Jetson™ SoCs
- Der On-Board-MAX96724 ermöglicht 4 GMSL2/1 Kameraeingänge, die den Kameramodulstart, Debuggen und Video-Streaming bieten
- On-Board-MAX96717, der für die Kamera-Emulation und das Debuggen der Haupteinheit verwendet werden kann
- Ermöglicht die Entwicklung von GMSL Applikationen mit NVIDIA Jetson SoC
- Samtec Steckverbinder, der den Anschluss eines beliebigen GMSL-DPHY-Evaluierungskits an den NVIDIA Jetson ermöglicht
- Zusätzliche USB-, Ethernet-, PCIe- und microSD-Karteneingänge
Applikationen
- FAS-Kameralösungen
- Sensor-fusion-ECU
- Fahrer- und Insassenüberwachung
- Infotainment im Innenraum
Videos
Systemarchitektur
| Teilnummer | Datenblatt | Beschreibung |
|---|---|---|
| AD-GMSL522-SOM-SL | Schnittstellen-Entwicklungstools Nvidia SoC based dev't platform + SOM | |
| AD-GMSL522-SL | Schnittstellen-Entwicklungstools Nvidia SoC based development platform |
