Alliance Memory AS29CF040-55CCIN Parallel Flash Memory

Alliance Memory AS29CF040-55CCIN Parallel Flash Memory is a 5V memory with 524,288 bytes of 8 bits each. This Alliance Memory Flash memory divides the 512KB of data into four sectors for flexible sector erase capability. The AS29CF040-55CCIN Flash memory uses pins I/O0 to I/O7 for data and pins A0 to A18 for addresses. This memory is available in 32-pin PLCC packages.

The AS29CF040-55CCIN Flash memory requires only a single 5V power supply for both read and write operations. The program and erase functions use internally generated and regulated voltages. The AS29CF040-55CCIN Flash memory is a software command set compatible with the JEDEC single-power-supply Flash standard. This memory can be programmed in standard EPROM programmers.

Features

  • 5V ± 10% for read-and-write operations
  • Access times
    • 55 (max.)
  • Current
    • 20mA typical active read current
    • 30mA typical program/erase current
    • 1µA typical CMOS standby
  • Flexible sector architecture
    • 8 uniform sectors of 64KB each
    • Any combination of sectors can be erased
    • Supports full chip erase
    • Sector protection
      • A hardware method of protecting sectors to prevent any inadvertent program or erase operations within that sector
  • -40°C to 85°C industrial operating temperature range
  • Embedded Erase Algorithms
    • Embedded Erase Algorithm will automatically erase the entire chip or any combination of designated sectors and verify the erased sectors
    • Embedded Program Algorithm automatically writes and verifies bytes at specified addresses
  • Minimum 100,000 program/erase cycles per sector
  • 20-year data retention at 125°C
    • Reliable operation for the life of the system
  • Compatible with JEDEC standards
    • Pinout and software compatible with single-power supply Flash memory standard
    • Superior inadvertent write protection
  • Data polling and toggle bits
    • Provides a software method of detecting the completion of a program or erasing operations
  • Erase Suspend/Erase Resume
    • Suspends a sector erase operation to read data from, or program data to, a non-erasing sector, then resumes the erase operation
  • Package options
    • 32-pin PLCC
    • All Pb-free (Lead-free) products are RoHS2.0 compliant

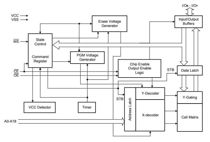
Block Diagram

Block Diagram - Alliance Memory AS29CF040-55CCIN Parallel Flash Memory
Veröffentlichungsdatum: 2019-10-22 | Aktualisiert: 2023-04-18