ABLIC S-34TS04A 2-Wire Serial EEPROM
ABLIC S-34TS04A 2-Wire Serial EEPROM comes with a temperature sensor for the Dual In-line Memory Module (DIMM) serial presence detection. This EEPROM incorporates a capacity of 4Kb and the organization of 2 pages × 256-word × 8-bit. The S-34TS04A EEPROM provides page write and sequential reading. This EEPROM operates with the I2C bus at 1MHz maximum frequency. The ABLIC S-34TS04A EEPROM offers a software-programmed shutdown mode that can be set by the I2C to achieve a reduction in the current consumption.Features
- Temperature sensor for DIMM serial presence detect
- Page write and sequential read available
- Software-programmed shutdown mode reduces current consumption
- Write protect function during low power supply voltage
- Individual software data protection for each of four 128-byte blocks
Specifications
- Page write of 16-bytes/page
- 106 cycle/word endurance at Ta=+25°C
- 100 years data retention at Ta=+25°C
- 4Kb memory capacity
- FFh initial delivery state
- Temperature accuracy:
- 0.5°C typical at Ta = +75°C to +95°C
- 1.0°C typical at Ta = +40°C to +125°C
- 8-samples/s (minimum) temperature sample rate
- TSE2004B2 JEDEC standard compliant
- 2.2V to 3.6V operating voltage range
- 1MHz operating frequency (maximum)
- DFN-8(2030)B package
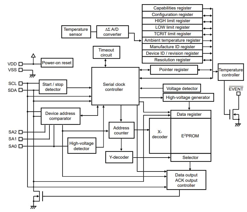
Block Diagram
Veröffentlichungsdatum: 2020-07-16
| Aktualisiert: 2024-03-18
